Servicios Personalizados
Revista
Articulo
Indicadores
-
Citado por SciELO -
Accesos
Links relacionados
-
Similares en
SciELO
Compartir
TIP. Revista especializada en ciencias químico-biológicas
versión impresa ISSN 1405-888X
TIP vol.17 no.1 Ciudad de México jun. 2014
Artículo original
Sistema de humedales artificiales para el control de la eutroficación del lago del Bosque de San Juan de Aragón
Artificial wetlands system for the eutrophication control of the lake of Bosque San Juan de Aragón
Víctor Manuel Luna-Pabello1 y Sergio Aburto-Castañeda2
Laboratorio de Microbiología Experimental, Depto. de Biología, Facultad de Química, Universidad Nacional Autónoma de México. Ciudad Universitaria, Deleg. Coyoacán, C.P. 04510, México, D.F. E-mail: 1lpvictor@unam.mx; 2sergioacastaeda@gmail.com.
Artículo recibido el 25 de septiembre de 2013
Aceptado el 13 de enero de 2014.
Resumen
El lago del Bosque de San Juan de Aragón (LBSJA), ocupa una superficie de 12 hectáreas. El lago está eutrofizado debido a que el sistema de lodos activados, conocido como "Tlacos", descarga parcialmente agua tratada dentro del lago y ésta contiene concentraciones de nitrógeno y fósforo que propician el crecimiento de microalgas. En este estudio, se describen los aspectos relevantes sobre el diseño, construcción y arranque operativo de un sistema de tratamiento a base de humedales artificiales (STHA) construido en el LBSJA. El STHA ocupa aproximadamente 1 hectárea de superficie, fue diseñado para depurar un promedio de 250 m3d-1 de agua. El sistema consiste de un filtro de agregados calcáreos, un sedimentador, un humedal artificial de flujo subsuperficial (HAFSS), un humedal artificial de flujo superficial (HAFS) y un muro gavión filtrante. El agua con la que se alimenta al sistema proviene tanto del efluente de la planta de tratamiento convencional de "Tlacos" (PTAR-Tlacos), como de la contenida en el propio lago. Los resultados muestran 80% de reducción en el contenido de contaminantes. Esto representa una calidad de agua tratada superior a la establecida en la normatividad ambiental para cuerpos acuáticos usados con fines recreativos.
Palabras Clave: Ecotecnología, eutrofización, humedales artificiales, lago artificial, tratamiento biológico.
Abstract
The lake of Bosque de San Juan de Aragón (LBSJA, for its Spanish acronym), occupies a 12 hectare area. The lake is eutrophicated due to an activated sludge system, known as "Tlacos", that carries partially treated water into the lake and contains nitrogen and phosphorus concentrations that trigger the growth of microalgae. In this study, we describe relevant aspects of the design, construction and operational start of a treatment system based on artificial wetlands (AWs ) built in the LBSJA. The AWs occupies an area of about one hectare; it was designed to purify an average of 250 m3d-1 of water. The system consists of a limestone aggregate filter, a settler, a subsurface flow artificial wetland (SSFAW), a surface flow artificial wetland (SFAW), and a gabion wall filter. Water that feeds the system comes from both the conventional treatment plant of "Tlacos" (WWTP-Tlacos) and that contained in the lake itself. Our results show an 80% reduction of contaminant content. The later represents a superior quality than that established in the environmental standards for treated water from water bodies used for recreational purposes.
Key Words: Eco-technology, eutrophication, artificial wetlands, artificial lakes, biological treatment.
Introducción
Los cuerpos acuáticos naturales y artificiales son altamente propensos a recibir aguas contaminadas con o sin tratamiento previo, lo cual origina el detrimento en la calidad del agua y con ello la pérdida de diversidad biótica nativa y su potencial como fuente de abastecimiento de agua para diversas actividades humanas. Ejemplo de esta situación se puede observar en la mayoría de los cuerpos de agua que se encuentran en la Ciudad de México, como el sistema lacustre de Xochimilco y los lagos artificiales de los bosques urbanos1,2,3. Ante este deterioro ambiental, es necesario el desarrollo de distintas acciones con el fin de prevenir y controlar su contaminación. Una alternativa es el manejo del cuerpo de agua de manera integral, que incluye tanto acciones de biomanipulación (in situ), como del control de la calidad de agua que recibe (ex situ). En este sentido, los sistemas de tratamiento de aguas residuales, comúnmente empleados en México, como es el caso del sistema de lodos activados, excepto los de reciente construcción, sólo están diseñados para remover materia orgánica de tipo carbonoso y reducir el contenido de microorganismos de origen entérico, dejando concentraciones relativamente altas de nitrógeno y fósforo4. La permanencia de este tipo de compuestos, origina el fenómeno de eutrofización, siendo uno de los efectos visibles el color verde en el agua, producto del crecimiento masivo de microalgas, algunas de las cuales producen toxinas que afectan tanto a la ictiofauna como a los seres humanos. Otros efectos asociados son el decremento en la concentración de oxígeno, aumento en la alcalinidad del agua, sedimentos con alta carga orgánica y modificación de color, olor5.
De manera particular, el lago del Bosque de San Juan de Aragón, México, D. F. se encuentra en estado de eutrofización. Lo anterior, debido principalmente a que es alimentado con el efluente de la planta de tratamiento de aguas residuales urbanas conocida como "Tlacos", la cual funciona basada en el principio de lodos activados convencionales. El diseño de ese tipo de tecnología no permite reducir, a niveles apropiados para la prevención del fenómeno de eutrofización (0.30 mg/L de nitrógeno total y 0.01 mg/L de ortofosfatos5), la concentración de nutrientes inorgánicos (nitratos y fosfatos) presentes en el agua a tratar6, motivo por el cual, al ser depositada en el lago, propicia el incremento en la proliferación de microalgas. Una alternativa de tratamiento, acorde con la vocación del sitio, es el uso de humedales artificiales7,8. Un humedal artificial (HA) es una ecotecnología que mediante procesos de biotransformación y mineralización, permite reducir la concentración de carbono, nitrógeno y fósforo, por debajo de lo establecido por la normatividad vigente9. Los principales componentes de un HA son el componente vegetal, representado por plantas vasculares terrestres y/o acuáticas, los microorganismos y el material de empaque o medio de soporte constituido por agregados pétreos. Los HA fundamentan su funcionamiento en la actividad bioquímica de los microorganismos; el aporte de oxígeno proveniente del componente vegetal10 en interacción con el material de empaque, el cual funciona como soporte tanto para los microorganismos como para el componente vegetal, además de funcionar como material filtrante (Fig. 1). En conjunto, estos elementos, eliminan materiales disueltos y suspendidos en el agua residual y biodegradan los materiales orgánicos hasta mineralizarlos11,12. Su diseño permite mantener e incrementar la estética del paisaje y proporcionan condiciones para el desarrollo y la preservación de vida silvestre, ya que proveen de un hábitat para diversos tipos de organismos13.

Los sistemas de HA de acuerdo con Kadleck y Wallace14 pueden dividirse en HA de flujo Subsuperficial (HAFSS) y de flujo Superficial (HAFS). No obstante, si se considera la concentración de contaminantes orgánicos o carga orgánica influente y el tipo de vegetación susceptible de ser incorporada a cada tipo de HA, es posible obtener las opciones que se observan en la Figura 2.

En los sistemas de tipo HAFSS (Fig. 3), el flujo de agua discurre de forma subterránea, favoreciendo que el agua a tratar no quede expuesta al ambiente15 y permiten la depuración de cargas elevadas de contaminantes orgánicos, mientras que los HAFS (Fig. 4) son sistemas inundados con espejo de agua expuesto al ambiente16 y son acompañados de una extensa vegetación hidrófila, usualmente utilizada para el pulimento del efluente de HAFSS.


Para realizar el diseño adecuado de un HA, es crucial conocer, entre otros aspectos, la problemática asociada, es decir: origen, calidad y volumen del agua a tratar12,17,18; destino, volumen y calidad de agua que se desea producir; espacio disponible; características del terreno susceptibles de ser empleado (topografía, mecánica de suelos, tipo de suelo, etc.). Asimismo, para la implementación de un sistema de tratamiento a base de humedales artificiales (STHA) en términos generales, se deben considerar las siguientes etapas: Diseño, Construcción, Arranque y Operación.
Durante la etapa de diseño se consideran como criterios principales la concentración y las características de los contaminantes presentes en el agua que se pretenda tratar, así como los requerimientos de descarga que se deseen obtener, de tal manera que estas características permitan la elección del diseño que se adecue a las características intrínsecas de cada lugar. Para prolongar la vida útil de los HA es necesaria la implementación de un pretratamiento que facilite la remoción de los sólidos suspendidos de fácil sedimentación, previniendo con esto su rápido azolvamiento. Una vez definido el sitio, así como las dimensiones que tendrá el sistema, se realiza la excavación que albergará el lecho del HA, esta excavación usualmente tiene una profundidad que oscila entre 0.6 y 1.5 m por debajo del nivel del influente que entrará al HA. Es importante destacar que el lecho que albergará al sistema de HA es impermeabilizado en su totalidad con arcilla-cemento o algún tipo de plástico, con la finalidad de retener el agua e impedir la infiltración al subsuelo y/o a los mantos acuíferos. Una vez impermeabilizado, el lecho es empacado con grava o combinando suelo y grava de diferentes granulometrías, que varían con el tipo de sistema elegido y con la calidad de agua residual a tratar. En general, los lechos tienen una altura vertical entre 0.4 y 0.6 m para los de flujo horizontal y de mayor profundidad para los de flujo vertical. Se debe evitar compactar el lecho o apisonar la superficie con cualquier tipo de maquinaria pesada, ya que esto alteraría la conductividad hidráulica del mismo. La captación del efluente se realiza mediante una tubería de captación para regular el nivel de inundación medio del sistema. Es recomendable que el sistema se encuentre permanentemente húmedo, para que la vegetación sembrada crezca adecuadamente y cumpla con su función depuradora. La etapa inicial de operación del HA es crucial para lograr alcanzar su estabilización en un menor tiempo (aproximadamente un año). Es importante mencionar que, el tiempo de estabilización de los sistemas de HA, también está influenciado por las características estructurales de cada sistema, así como por las condiciones climáticas prevalecientes. Para el caso de Europa, se ha reportado que el tiempo de estabilización puede llegar a ser de hasta tres años2, mientras que en México se ha logrado conseguir en un lapso de un año y año y medio. Lo anterior, debido a que las condiciones climáticas, principalmente incidencia de luz solar y temperatura ambiente, son más favorables para el componente vegetal empleado19, como es el caso de los carrizos y juncos, los cuales son comúnmente empleados en ambos sitios. Durante este periodo es posible regar el sistema de HA con agua corriente o parcialmente tratada, pero a medida que las raíces del componente vegetal crecen y maduran, se debe proceder a la irrigación con agua residual hasta que ésta constituya el único aporte.
La importancia y trascendencia de los humedales artificiales, radica fundamentalmente en que son una alternativa viable y sustentable para la depuración de aguas residuales de tipo industrial, agropecuaria y doméstica8. Su implementación tiene un menor costo en comparación con los sistemas de tratamiento convencional, son amigables con el entorno paisajístico, no generan subproductos nocivos y se adaptan a las condiciones tanto climáticas como urbanas de México. Otra ventaja de estos sistemas es la posibilidad de combinarse con otros procesos depuradores ya existentes, a fin de optimizar su rendimiento. Adicionalmente, este tipo de sistemas es altamente eficiente para eliminar bacterias patógenas de las aguas residuales y ofrecer un aspecto agradable a la vista, constituyendo así, una reserva con condiciones adecuadas para la vida acuática20.
Metodología
Descripción del área para la instalación del STHA
El Bosque de San Juan de Aragón, se encuentra ubicado en el nororiente de la Ciudad de México, en la colonia San Juan de Aragón, Delegación Gustavo A. Madero. Colinda al Norte con la Avenida 510, Eje 4 Norte; al Noroeste con la Avenida 412, Eje 5 Norte; al Sur con la Avenida 508; al Sureste con la Avenida 608; al Este con la Avenida 661, y al Oeste con la Avenida José Loreto Fabela. El lago del Bosque de San Juan de Aragón está conformado por tres espejos de agua los cuales suman una superficie de 12 hectáreas, se encuentra entre los de mayor dimensión en el D.F., y creado con fines recreativos, presta servicios ambientales como el incremento en la humedad relativa existente en el Bosque, disminución de la isla de calor y es refugio de aves y fauna acuática. El Lago del Bosque de San Juan de Aragón (LBSJA) es un cuerpo de agua artificial, cuenta con una capacidad de almacenamiento de cerca de 120,000 m3 y una superficie de espejo de agua en condiciones ordinarias de 118,805 m2.
Este lago es abastecido con agua tratada proveniente de la Planta de Tratamiento de San Juan de Aragón (PTSJA) conocida como Planta de "Tlacos", la cual provee de un volumen diario de 5,616 m3, otra fuente de aporte al lago, es por agua de lluvia, estimado en aproximadamente 210 m3 diarios (julio a octubre). Las pérdidas del volumen hídrico del lago comprenden cuatro aspectos, la evaporación, que se estima en 119 m3 al día, el rebombeo de agua hacia la Alameda Oriente con un volumen diario de 8,54 m3, la infiltración y el envío de excedencias al drenaje que se estima en 4,643 m3 al año21,22.
El sitio asignado para la implementación del STHA
La selección de la tecnología, a base de humedales artificiales, se efectuó considerando las características y vocación del sitio, composición del agua a tratar, calidad del agua tratada requerida y pruebas de laboratorio específicas para la selección de materiales de empaque y del componente vegetal. La definición del sitio para su ubicación final, se hizo tomando en cuenta el estudio "Simulación de los contaminantes en el lago del Bosque de San Juan de Aragón, México, D.F." proporcionado por las autoridades del Bosque, estableciéndose que el mejor sitio era el cuerpo sur del lago (Fig. 5) debido a que no solamente mejoraría la calidad del agua, sino también al entorno paisajístico de la zona.
Uno de los principales objetivos de implementar un humedal artificial para el tratamiento del agua del Lago del Bosque de San Juan de Aragón, fue crear un espacio propicio para el desarrollo de vegetación acuática que contribuya en el mejoramiento de la calidad del agua del lago y en consecuencia a conformar un hábitat para especies de aves migratorias, así como para la fauna acuática que lo habita y poder contar con una instalación de carácter didáctico. Para ello se planteó seguir los siguientes puntos:
• Caracterización del agua a tratar por el STHA: a) Procedente de la planta de "Tlacos"; b) Procedente de agua del propio lago.
• Diseño y construcción del STHA.
• Arranque y monitoreo del STHA.
Para el análisis de la calidad del agua, a lo largo del STHA, se emplearon los procedimientos internacionalmente aceptados23.
Caracterización del agua a tratar por el STHA
a) Influente proveniente de la Planta de "Tlacos"
La PTSJA aporta un volumen diario de 5,616 m3 de agua tratada al LBSJA, a través de una tubería de 20 pulgadas, la cual tiene 2 puntos de llegada al lago. El volumen mayor desemboca en el lago mayor, mientras que el volumen menor lo hace al embarcadero (Fig. 5). La calidad del agua se determinó siguiendo los procedimientos internacionalmente aceptados23. De acuerdo con los resultados obtenidos, en términos generales, cumple con los niveles establecidos por la NOM-001-SEMARNAT-199624 (ver Tabla I). Si bien, la remoción de material carbonoso es acorde con la norma, no lo es así para los compuestos nitrogenados y fosforados, lo que limita los diferentes usos que se le pueden dar, como es el de uso público con contacto directo, así como para la preservación de la vida silvestre. Por otra parte, las concentraciones de compuestos nitrogenados y fosforados inciden directamente en la calidad del agua en el lago, ya que sus formas oxidadas y concentraciones de ≤ 0.3 mg/L y ≤ 0.01 mg/L, respectivamente, propician el fenómeno de eutrofización. Este fenómeno se caracteriza por el desarrollo masivo de microalgas (incremento considerable en la biomasa fotosintética), situación que limita las condiciones necesarias para el desempeño del ecosistema, al provocar un decremento en la diversidad biótica del mismo y en general de la calidad del agua en el lago5,6.
Por otra parte, los parámetros que cumplen con la norma, como el pH, denotan niveles similares a cuerpos de agua naturales que no afectan de forma aparente el desempeño del ecosistema.
Entre los parámetros, cuyos valores están por debajo de la NOM-001-SEMARNAT-199624 y NOM-003-SEMARNAT-199725, se encuentran los Sólidos Suspendidos Totales, Demanda Bioquímica de Oxígeno en cinco días (DBO5), grasas y aceites, los cuales son removidos eficientemente por la PTSJA. La reducción de estos parámetros influye directamente en la dinámica del lago, así como en la mejora de la calidad del agua.
Un parámetro importante, relacionado con la salud pública, es la concentración de bacterias coliformes en el efluente proveniente de la PTSJA, por presentar valores superiores a los establecidos en la NOM-003-SEMARNAT-199725 para cuerpos de agua con fines recreativos (240 coliformes fecales, número más probable por 100 mililitros de muestra de agua analizada), constituyendo un riesgo para la salud humana, debido a que existe la propensión de provocar enfermedades gastrointestinales.
En términos generales, el agua proveniente del la PTSJA, tiene una calidad fisicoquímica aceptable por la NOM-003-SEMARNAT-1997, para el abastecimiento del LBSJA. Sin embargo, a pesar de cumplir con la normatividad, compuestos como el nitrógeno y el fósforo en sus diferentes estados de oxidación contribuyen a reducir la calidad del agua del LBSJA, por lo que es indispensable contar con un sistema capaz de disminuir la concentración de estos parámetros a valores que efectivamente permitan lograr un adecuado uso recreativo.
b) Influente proveniente de agua del Lago del Bosque San Juan de Aragón (LBSJA)
El análisis de la calidad del agua, tomada del propio lago, arrojó como resultado cierto grado de deterioro en varias zonas, como se muestra en la Tabla II. En particular, las concentraciones de nitrógeno y fósforo, inducen la eutrofización de varias secciones del cuerpo de agua, por lo que es necesario prestarles mayor atención. Por otra parte, los SST y la concentración de coliformes, son dos de los parámetros cuyo valor se encuentra muy por encima de los permitidos por la normatividad vigente, y en consecuencia el paso del agua a través del HA, permitiría reducir dichos valores acordes con los requeridos para uso recreativo con contacto directo21. Los análisis realizados mostraron que la zona del embarcadero es la que presenta mayor deterioro en el LBSJA y al alimentar al HA con agua proveniente de este sitio, se favorece la recirculación de los contaminantes y eventualmente la disminución de los mismos en ese punto. La forma de controlar estas condiciones, de baja calidad del agua, son: aumentar la cantidad de oxígeno disuelto en el agua, disminuir la presencia de carbono orgánico, fósforo y nitrógeno, e incrementar el movimiento de circulación del lago, condiciones que fueron la base fundamental para desarrollar el Humedal Artificial.
Diseño del STHA
Para el correcto diseño y operación de los humedales artificiales, se requiere de la participación multidisciplinaria de profesionistas, entre los que se encuentran ingenieros civiles, ingenieros químicos, biólogos y arquitectos, quienes, desde la perspectiva de sus campos de aplicación profesional, aportan los conocimientos necesarios para un buen diseño y funcionamiento, tanto hidráulico como de los procesos de remoción de contaminantes e interacciones ecológicas, que se dan en este tipo de sistemas depuradores.
El objetivo principal, del STHA implementado en el LBSJA, consistió en depurar una fracción de las aguas residuales tratadas provenientes de PTSJA, así como parte del agua del lago proveniente de la zona del embarcadero. Para cumplir este objetivo, se estableció un tren de tratamiento conformado por una combinación de procesos físicos, fisicoquímicos y biológicos. El STHA fue conceptualizado para operar dentro de un área de 0.8085 hectáreas, de forma que se obtuviera agua tratada no sólo dentro de los niveles establecidos para contacto primario en lagos artificiales con fines recreativos y uso seguro en el riego de los jardines del bosque (en cuanto a materia orgánica disuelta, coliformes fecales y sólidos suspendidos totales), sino también agua con muy bajo contenido de compuestos nitrogenados y fosforados, que contribuyeran a limitar el fenómeno de eutrofización del lago. Para ello, se tomó en cuenta lo establecido por la NOM-003-SEMARNAT-199725 y en la literatura especializada sobre el tema5, respectivamente. El diseño del sistema tiene la capacidad de procesar un intervalo de flujo nominal de 217 m3/día, con un área efectiva de tratamiento de 8,085 m2 (0.8085 hectáreas). El sistema STHA consta de 5 módulos depuradores:
• Canales de conducción.
• Sedimentador.
• Humedal artificial de flujo subsuperficial.
•Humedal artificial de flujo superficial.
• Muro gavión.
Descripción general del STHA
El agua a tratar ingresa al STHA por medio de un canal empacado con rocas calizas que se divide en dos secciones separadas por una pared intermedia denominada canal "A" y canal "B". El canal "A" recibe el aporte del agua del lago que se encuentra próximo al canal mayor y las recirculaciones que provengan de distintos puntos del lago (Aporte Canal Mayor-embarcadero). El canal "B" recibe exclusivamente el aporte de una fracción del agua que envía la PTSJA. La finalidad de estos canales es la de remover compuestos clorados que puedan dañar tanto a los microorganismos depuradores, como a las plantas presentes en los humedales artificiales. De igual forma, permite la remoción de compuestos fosforados que contribuyen al fenómeno de eutrofización3,26,27. Al final de esta sección, se encuentra un tanque sedimentador, cuya función es retener las partículas de arena encontradas en el agua que ingresa por este conducto. De forma que no se reduzca la capacidad de remoción del sistema (Fig. 6, 7 y 8).
El tanque sedimentador cuenta con un área de 44 m2, este módulo funciona como cárcamo para enviar el agua por bombeo hacia los HA y retiene las partículas con mayor densidad contenidas en el agua. Los sedimentos acumulados son retirados manualmente y combinados con la materia vegetal para la elaboración de composta. Adicionalmente, realiza la mezcla de las dos corrientes de agua para su homogenización.
Una vez transcurridas las 2.5 horas de tiempo de residencia hidráulico (TRH) en el sedimentador, el efluente es conducido hacia el módulo del HAFSS, que tiene un área de 2,351 m2 y un área efectiva de tratamiento de 1,613 m2. El sistema es de tipo modular. Los módulos están acoplados con un arreglo en serie. Estos sistemas están formados por tres pares de módulos y en cada uno de ellos fluyen volúmenes iguales. El primer módulo de cada par contiene como material de empaque principal grava de origen ígneo, para favorecer la remoción de materia orgánica (medida como DBO5), sólidos suspendidos totales (SST) y sólidos disueltos totales (SDT), además de fomentar la biotransformación del nitrógeno amoniacal (N-NH4) hacia nitrógeno nitrato (N-NO3). El segundo módulo tendrá como soporte principal gravilla a base de mineral de roca caliza, que permitirá remover a los ortofosfatos (P-PO43-) y llevar a cabo el proceso de desnitrificación. Las aguas procedentes de todos los módulos del HAFSS serán colectadas en un solo punto y tiene como destino la etapa conformada por el Humedal Artificial de Flujo Superficial (HAFS). El componente vegetal en el HAFSS está conformado por vegetación de tipo hidrófita enraizada emergente, que favorece la asimilación de N-NO3-, así como la incorporación de materia carbonosa a su tejido y el intercambio de oxígeno en la zona del rizoma, para el desarrollo de microorganismos depuradores que mitigan los contaminantes en el sistema.
El efluente del HAFSS, es vertido en el HAFS y cuenta con un área de 5,734 m2. El influente de HAFS es distribuido a partir de la orilla poniente de todo el sistema, de tal manera que por gravedad, la masa de agua que se encuentra en el HAFS tenga un recorrido hacia el muro gavión, constituyendo el límite divisorio oriente de los humedales artificiales, con el resto del lago. La función del HAFS es realizar un pulimento del tratamiento anterior y disminuir la concentración de los contaminantes antes mencionados, hasta los valores indicados en las normas oficiales mexicanas vigentes aplicables24,25. Este sistema alberga una gran variedad de vegetación hidrófita, como hidrófitas enraizadas emergentes en las zonas correspondientes a los márgenes del espejo de agua e hidrófitas sub-emergentes y de libre flotación en zonas centrales también del espejo de agua del HAFS.
Selección del componente vegetal
Para el componente vegetal de los HAFSS y el HAFS se empleó vegetación originaria de la zona y algunos organismos que aunque no son nativos, son requeridos para el adecuado funcionamiento del tren de tratamiento.
Criterios de selección de especies HAFSS
La selección de las especies en el STHA (Tabla III) se llevó a cabo considerando su función estética (ornato) y capacidad para remover contaminantes (depuradora). A continuación se señalan los criterios de selección empleados:
• Capacidad de remoción de sedimentos.
• Tolerancia a los niveles de sedimentos y calidad del agua que presenta el LBSJA.
• Adaptabilidad a los medios de soporte con concentración mineral.
• Profundidad de la raíz adecuada (entre 0.40 y 0.60 m).
• Fuerza de empuje moderada de crecimiento en raíz.
• Resistencia a un amplio intervalo de temperatura, en particular a los registrados en el lugar.
• Tolerancia a exposición prolongada a los rayos directos del sol.
• Resistencia a concentraciones variables de contaminantes.
• Compatibilidad con la biopelícula de microorganismos.
• Sencillez de manipulación.
• Facilidad de propagación.
• Disponibilidad a lo largo del año.
• Estética (color, talla y tamaño).
• Facilidad de mantenimiento, transporte y compra.

Arreglo del componente vegetal dentro del STHA
El arreglo obedeció a las siguientes características:
• Alimentación del sistema (gasto y concentración).
• Condiciones ambientales (temperatura, nutrimentos disponibles, luz y humedad).
• Condiciones del componente acuático (movimientos de la columna de agua).
• Diseño del sistema.
• Estética.
Con base en los criterios antes mencionados, se realizó el dimensionamiento del STHA quedando establecidas las áreas para cada módulo, así como su capacidad de tratamiento como se muestra en la Tabla IV.

Una vez que fueron dimensionados los módulos se comenzó el proceso constructivo siguiendo el arreglo que se muestra en la Fig. 7 y Fig. 8.
Construcción y arranque del STHA
El STHA fue construido con fondos administrados por parte del Gobierno del Distrito Federal y para ello se realizó la respectiva licitación pública en el año 2009. Una imagen de las obras relacionadas con la preparación del sitio se puede observar en la Fig. 9. A continuación se presentan brevemente los aspectos relacionados con las actividades para la construcción y arranque operativo del STHA.
Bases de Cálculo para la Construcción del STHA
De acuerdo con las Bases de Cálculo generadas en el proyecto, las cribas se colocaron en el canal de conducción de los efluentes, dividido en dos secciones, el que conduce el agua proveniente de la PTSJA (canal "A") y el canal "B" que conducirá el influente proveniente del Canal Mayor- Embarcadero. La primera sección (canal "A"), está dividido en 5 zonas, a lo largo del canal, de 10 metros cada una y con un espacio de 1.55 m entre ellas. Se colocaron cribas de malla rígida ondulada de 2 x 2 pulgadas y de calibre 6, a la entrada y salida de cada una de las zonas dando un total de 10 cribas. La segunda sección (canal "B"), no se encuentra dividido, por lo que se colocaron únicamente dos cribas, de malla rígida ondulada de 2 x 2 pulgadas con calibre 6, a la entrada y a la salida del canal. Las dimensiones de las cribas fueron establecidas bajo criterios de diseño, que obedecen al volumen de los residuos sólidos que se desean remover, principalmente bolsas plásticas, envases, empaques de alimentos, ramas y hojas.
El filtro de roca caliza que se encuentra en el canal "A", es capaz de tratar el 44% del caudal de entrada al sistema de humedales artificiales, correspondientes a 110 m3/d del caudal total que ingresa al sistema de tratamiento, el excedente no será tratado.
En cuanto al tanque sedimentador, la geometría de este módulo es cilíndrica y está constituido por dos cilindros concéntricos. El sedimentador está diseñado con un 20% de espacio adicional como factor de seguridad. La altura del sedimentador es de dos metros aproximadamente. La bomba que conduce el caudal a tratar del sedimentador al HAFSS tiene una capacidad máxima de flujo alrededor de 260 m3/d (en época de lluvias) y una mínima de 175 m3/d (en época de estiaje). La bomba es de tipo centrífugo, con operación normal intermitente. El sistema de abastecimiento y distribución de las bombas es mediante control automatizado.
El HAFSS, cuyo diseño es con forma de abanico de tipo modular e interconectado por vasos comunicantes, tiene un área total de 2,315 m2, con una superficie activa de 1,613 m2, con capacidad para tratar un caudal nominal en época de estiaje de 217 m3/d. El sistema emplea como soporte dos materiales acomodados en tres horizontes colocados de manera vertical en el lecho. Para los fines de depuración, el medio de soporte que se empleó en HAFSS está compuesto por dos materiales pétreos, grava de roca ígnea y roca caliza, que se encuentran seccionados para obtener una mayor eficiencia de remoción. Los materiales fueron elegidos con base en experimentos realizados en el laboratorio previos al diseño del sistema de humedales artificiales. En ambos casos el material fue perfectamente tamizado y lavado, para obtener la granulometría adecuada y acorde al propósito de diseño. El influente al HAFSS se distribuye de tal forma que provocará un recorrido por todo el perfil del lecho por gravedad. Las características del lecho (tipo y tamaño de partícula) en conjunto con las plantas, favorecen la hidráulica del sistema; que determina su régimen de flujo. Los lechos seleccionados con una estructura estable proporcionan condiciones óptimas para la conductividad hidráulica, velocidad de infiltración y tener el TRH requerido por el sistema para la depuración del agua residual. El efluente de este módulo fue colectado y conducido a la etapa conformada por el HAFS.
El HAFS operará como flujo superficial y ocupa un área total de 5,735 m2, misma que representa la totalidad del área del lago destinada para el sistema, menos la superficie que utiliza el tanque sedimentador y el humedal artificial de flujo subsuperficial, este módulo alberga las especies de vegetación acuática las cuales son en gran medida responsables de la remoción de contaminantes que no se lograron mitigar en la etapa anterior, favoreciendo de esta manera la eficiencia de pulimento del tratamiento y alcanzando valores de contaminantes por debajo de la normatividad vigente.
Las fases de construcción comprendieron cuatro etapas:
1. Delimitación y adecuación del sitio de construcción.
• Colocación de costalera.
• Achique y secado de la zona donde se ubica el STHA.
• Dragado y retiro de sedimentos de la zona.
• Preparación del terreno para la construcción.
2. Construcción de infraestructura externa (Fig. 10.).
• Construcción de muro gavión.
• Construcción de las celdas depuradoras del HAFSS.
• Construcción del tanque sedimentador.
• Construcción del sistema de canales de conducción.
Materiales de Construcción empleados durante esta etapa
• Losa de Cimentación. Varilla de 3/8" de diámetro, a 15cm.
• Concreto con resistencia a la compresión (f'c) = 250kg/cm con un peralte de 12cm de grosor.
• Sedimentador. Varilla de 3/8" de diámetro, de 15 x 25cm, la cimbra de madera triplay apuntalada cada 40 cm para concreto de f'c = 250kg/cm; el muro circular es de 20 cm de grosor.
• Muros divisorios. Tabiques rojos recosidos 15 x 15cm.
• Refuerzos horizontales. Armex 15 x 15cm.
• Aplanados. Cemento y Arena 2 cm de espesor.
• Sedimentador. Muro Secundario. Varilla de 3/8" de diámetro, a 15cm de distancia. La cimbra de madera triplay para concreto de f'c = 250 kg/cm el muro circular es de 20 cm de grosor.
• Piedra Tezontle para el relleno del piso.
• Muro del Canal. Varillas de 3/8" de diámetro, de 15 x 25cm para concreto de f'c = 200 kg/cm el muro circular de concreto es de 15cm de grosor.
• Muro de gavión. Piedra braza a 90° de inclinación sus dimensiones son de 120 x 120 cm. Resguardado por una malla metálica con protección de plástico de 0.5cm de diámetro.
3.-Construcción de la infraestructura interna (Fig. 11).
• Instalación e impermeabilización con geomembrana de las celdas depuradoras del HAFSS.
• Instalación de las tuberías en STHA.
• Instalación de las cribas en los canales de conducción.
• Instalación del sistema de bombeo, así como el sistema de control y eléctrico para el STHA.
• Pruebas hidráulicas en los canales de conducción.
• Pruebas hidráulicas en el tanque sedimentador.
• Pruebas hidráulicas en la tubería de alimentación del HAFSS.
• Pruebas hidráulicas en la tubería del HAFSS.
•Lavado tamizado y empacado del material empaque del sistema de filtros y de las celdas depuradoras del HAFSS (Fig. 12).
4.-Introducción del componente vegetal en el STHA (Fig.13).
• Introducción y plantación del componente vegetal del HAFSS.
• Introducción y plantación del componente vegetal del HAFS.
Arranque y operación inicial del sistema
Una vez terminada la fase, previa supervisión de la construcción del STHA, se procedió a la fase de arranque y revisión del correcto funcionamiento de todas las etapas del sistema (Fig. 14).
Se realizaron los ajustes necesarios para el correcto funcionamiento:
• Sustitución del componente vegetal deteriorado.
• Limpieza y retiro de malezas indeseables dentro de los módulos del HAFSS.
• Limpieza y retiro de residuos sólidos urbanos plásticos, como botellas de PET (polietilen tereftalato) y bolsas de plástico presentes en el HAFS.
• Revisión del flujo de agua y de inexistencia de fugas de agua.
Como siguiente actividad, se realizó una campaña de muestreo para darle seguimiento al sistema con el objetivo de conocer su desempeño en la remoción de los contaminantes contenidos en el agua previamente tratada por el STHA. El STHA fue inaugurado el 30 de Noviembre del 2012 y constituye el HA de mayor tamaño y capacidad existente en la Ciudad de México (Fig. 15).
Operación y Seguimiento del STHA
Con la finalidad de realizar el seguimiento y evolución funcional inicial del sistema, para cada etapa, se realizó una campaña de muestreos que permitiera establecer y calcular un balance de materia dentro del STHA. Por consiguiente, se consideró tanto la temporada de lluvias como la temporada de estiaje. Para la época de lluvias comprendió los meses de julio a octubre, mientras que para estiaje el periodo analizado comprendió ocho meses, iniciando en noviembre y terminando en junio. No obstante que se presentan lluvias en el mes de enero y febrero, este periodo se considera estiaje, debido a que las lluvias no alcanzan el nivel adecuado para ser establecidos como parte de la temporada de lluvias. Los parámetros que se tomaron en cuenta para el balance se muestran en la Tabla V. Asimismo, se analizaron las entradas y salidas de agua en función de cada módulo evaluado (Tabla VI). En términos generales, el balance de materia incluye los siguientes componentes:
Entrada + Transformación = Acumulación + Salida

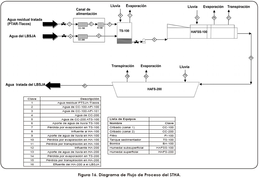
Para el balance, se tomó en cuenta que no existe acumulación de agua en el HA, aunque en un inicio, para la puesta en marcha existe una retención de masa de agua proveniente del LBSJA, en un régimen permanente, dicha acumulación no existe. En consecuencia, para considerar que el HAFSS está en funcionamiento, deben estar saturados los seis módulos que lo componen. De la misma forma, para el HAFS, una vez que se encuentra lleno hasta el borde del muro gavión, se considera que está en funcionamiento. Partiendo de las premisas anteriores, el balance inicia desde la alimentación del sistema, a través de canales de alimentación, hasta la salida hacia el lago atravesando el muro gavión, como se muestra en la Figura 16. Es importante hacer notar que la concentración de nitrógeno, después de pasar por el HAFSS, disminuye en 50%, mientras que el 50% del fósforo es reducido después de ser tratado en el HAFS acorde con lo reportado en la literatura11,16,28 (Tabla VII).
Como se muestra en la Figura 17, a lo largo del STHA, la remoción de la mayoría de los contaminantes abióticos se reduce hasta un 80%. En cuanto a la concentración de coliformes fecales, se logra una disminución superior al 90%. Cabe destacar que en todos los casos, la reducción en la concentración de contaminantes presentes en el agua tratada por el STHA, está por debajo de lo establecido por las normas de calidad del agua para descarga en cuerpos receptores acuáticos y para uso recreativo con contacto directo24,25. El agua procedente de la Planta de "Tlacos", cuando se estanca se eutrofica debido a la presencia de nitrógeno y fósforo. Por esta razón, el diseño del STHA se enfocó principalmente a la remoción progresiva y paulatina de compuestos nitrogenados y fosforados contenidos tanto en el agua de la Planta de "Tlacos", como del agua del propio lago.
No se omite señalar que, el diseño de este tipo de sistemas, lleva intrínseca la remoción de los SST y DBO5, debido a la participación de microorganismos, que constituyen uno de sus principales componentes y son los responsables de la biotransformación y mineralización de los mismos. Lo anterior se confirma al observar la significativa reducción tanto en el HAFSS, como en el HAFS.
Aunado a la capacidad depuradora de contaminantes del STHA, la correcta operación y mantenimiento traerá mejora al paisaje de la zona (Fig. 18), aportará beneficios ambientales importantes y para fines del presente documento se entenderá, como beneficio ambiental, el valor asignado a la mejora de la calidad del agua desde el momento actual a niveles crecientes de calidad de la misma y para posibles usos: consumo humano, uso recreativo, agrícola y natural8,19. A continuación se listan los principales beneficios asociados con la presencia del STHA:
• Contribuir al uso eficiente del agua.
• Disminuir el impacto ambiental de las descargas.
• Reducir el gasto de energía empleada para tratamiento de los desechos líquidos y en la disposición de subproductos del tratamiento.
• Reutilizar aguas residuales tratadas.
• Aumentar la calidad de las fuentes de abasto de agua para uso primario.
• Bajar la producción de residuos o desechos líquidos derivados del tratamiento de aguas residuales.
• Evitar la contaminación de aguas superficiales, suelo y subsuelo.
• Conservar y recuperar los recursos naturales y hábitats afectados.
• Recargar, recuperar y proteger los acuíferos.
• Proteger la biodiversidad y los paisajes.
•Disminuir las aportaciones de contaminantes procedentes de la irrigación con aguas residuales tratadas de manera insuficiente.
• Contar con un sistema de gestión ambiental que ayude a administrar y manejar las actividades que tienden al desarrollo económico-social para un entorno de desarrollo sustentable.
De tal manera que el estudio y desarrollo de sistemas de tratamiento basados en HA, ofrece una excelente oportunidad para aplicar conocimientos multidisciplinarios tanto a nivel de enseñanza, como de desempeño profesional. Es por esta razón que el STHA permite ejemplificar los diversos conceptos relacionados con ciclos biogeoquímicos y desarrollo sustentable.
Lo anterior, en su conjunto, abre la posibilidad de realizar el desarrollo creativo de sistemas de tratamiento, desde una perspectiva holística o integral, que induzca la generación de propuestas y soluciones, desde un enfoque de sistemas. Por lo anterior, los beneficios y servicios ambientales que presta el sistema de tratamiento desarrollado son:
• Producción de oxígeno, derivado de la siembra del componente vegetal.
• Fijación de carbono, por la acción del componente vegetal que estará dispuesto en los humedales19.
• Favorece el ciclo hidrológico por efecto de la transpiración de las plantas y la evaporación de la superficie del HAFS.
• Contribución al establecimiento de una zona de amortiguación por las fuentes contaminantes aledañas al parque.
• Ayuda en la mitigación del efecto de isla calórica al generarse un microclima por acción de los componentes vegetales de los HAFSS y HAFS.
• Establecimiento de un reservorio para la protección de diversos organismos y mejoramiento del hábitat de las especies colonizadoras, dentro de los HAFSS y HAFS.
• Generación de un espacio con características recreativas y adecuadas para realizar recorridos temáticos y de educación ambiental.
• Impacto visual positivo al contarse con una mejora en el paisaje del entorno.
Conclusiones
La aplicación a escala real de la tecnología de tratamiento de aguas contaminadas desarrollada a lo largo de más de 20 años de investigación, quedó plasmada en el STHA construido en aproximadamente una hectárea de terreno, en el interior del lago del Bosque de San Juan de Aragón, Distrito Federal. Este sistema de tratamiento está diseñado para un tiempo de vida útil de aproximadamente 25 años y una capacidad de remoción de contaminantes presentes entre 80% y 90%. El STHA, se encuentra en proceso de estabilización, no obstante ha demostrado su capacidad para reducir significativamente el contenido de carbono y bacterias coliformes, a niveles que permiten cumplir con la calidad del agua para uso en cuerpos acuáticos recreativos en donde las personas tengan contacto directo con la misma. Asimismo, en el caso de compuestos nitrogenados y fosforados la reducción no sólo supera lo establecido por la normatividad nacional, sino que se ha reducido a valores que permiten controlar el proceso de eutrofización. Su evaluación y correcta operación permitirá obtener información que ayude a mejorar el entendimiento de estos sistemas, a pesar de su aparente simplicidad estructural, el correcto entendimiento de su funcionamiento real resulta difícil, dado lo complejo de los procesos y fenómenos involucrados en la depuración de aguas contaminadas que en ellos se realiza. Ante esta situación, el estudio del STHA, no sólo se debe encaminar a la diversificación de sus aplicaciones, sino también a generar mayor conocimiento de los procesos químicos, físicos y biológicos que están involucrados en su actividad funcional. Lo anterior, permitirá usar al STHA instalado en el BSJA, como un ejemplo en el que se pueden vincular aspectos, como ciclos biogeoquímicos, protección ambiental y desarrollo sustentable, en el marco de un enfoque integral para la disminución de impacto al ambiente.
Agradecimientos
Se agradece el apoyo técnico brindado por el M. en C. Luciano Hernández. De igual forma, se hace patente nuestro reconocimiento al Arquitecto Adrián Arroyo Berrocal y al Diseñador Gráfico Daniel Ramírez Olvera, por la elaboración de las imágenes presentadas en el presente texto. Asimismo, se reconoce la participación de alumnos de servicio social, licenciatura, maestría, doctorado y posdoctorado que han participado a lo largo de más 20 años de investigación. De manera particular se da un amplio reconocimiento a los ingenieros José Antonio Poncelis y Gregorio Poncelis por su contribución en los cálculos estructurales y apoyo en la supervisión a lo largo de la construcción del STHA. El desarrollo tecnológico se realizó con apoyo analítico y de la información generada en los proyectos UNAM/DGAPA/PAPIIT: Clave No. IN 107209. "Desarrollo de un humedal artificial de alta eficiencia para remoción de contaminantes orgánicos y microorganismos patógenos" y Clave No. IT103312 "Diseño, construcción y evaluación de un sistema de tratamiento móvil para depuración y reuso de aguas residuales de tipo municipal". Así como en la del convenio de Colaboración Académica y de Investigación Núm. 18029-314-13-III-06 "Estudios integrales e interdisciplinarios relacionados con la sustentabilidad, la conservación ecológica y la biodiversidad de la zona lacustre de Xochimilco" celebrado entre la Facultad de Química de la UNAM y la Universidad Autónoma Metropolitana Unidad Xochimilco. Por parte del Gobierno del Distrito Federal, se contó con apoyo financiero, otorgado a través del proyecto CONV-GDF-SMA-FIDAM-01/UNAM 19628-143-12-II07 "Humedal artificial para el control de la contaminación del Lago del Bosque de San Juan de Aragón".
Referencias
1. Bojórquez, C.L. & Amaro, E.J. Caracterización múltiple de la calidad del agua de los canales de Xochimilco. En: El Agua en la Cuenca de México. Sus problemas históricos y perspectivas de solución (ed. Stephan-Otto, E.) 281-302, Tomo 1 (UAM-Xochimilco-Patronato del Parque Ecológico de Xochimilco A.C., México, 2003). [ Links ]
2. Martín, M., Gargallo, S., Hernández-Crespo, C. & Oliver, N. Phosphorus and nitrogen removal from tertiary treated urban wastewater by a vertical flow constructed wetland. Ecological Engineering. 61, 34-42 (2013). [ Links ]
3. Ramírez-Carrillo, H.F., Luna Pabello, V.M. & Arredondo Figueroa, J.L. Evaluación de un humedal artificial de flujo vertical intermitente, para obtener agua de buena calidad para la acuicultura. Revista Mexicana de Ingeniería Química 8(1), 93-99 (2009). [ Links ]
4. Bayley, M.L., Davison, L. & Headley, T.R. Nitrogen removal from domestic effluent using subsurface flow constructed wetlands: influence of depth, hydraulic residence time and pre-nitrification. Water Science Technology 48(5), 175-182 (2003). [ Links ]
5. Arheimer, B. & Wittgren, H. Modelling nitrogen removal in potential wetlands at the catchment scale. Ecological Engineering. 19, 63-80 (2002). [ Links ]
6. Randall, C., Barnard, J. & Stensel, H. Design and retrofit wastewater treatment plants for biological nutrient removal (Techconomic P. Co. Inc., Nueva York, EUA, 1992). 65-71 pp. [ Links ]
7. Green, M.B. & Upton, J. Constructed reed beeds: apropiate technology for small communities. Water Environmental Research 32(3), 339-348 (1995). [ Links ]
8. Kivaisi, A. The potential for constructed wetlands for wastewater treatment and reuse in developing countries: a review. Ecological Engineering 16, 545-560 (2001). [ Links ]
9. Luna Pabello, V.M. & Ramírez Carrillo, H.F. Medios de soporte alternativos para la remoción de fósforo en humedales artificiales. Revista Internacional de Contaminación Ambiental 20(1), 31-38 (2004). [ Links ]
10. Tanner, C.C. & Kadlec, R.H. Oxygen flux implications of observed nitrogen removal rates in subsurface-flow treatment wetlands. Water Science Technology 48(5), 191-198 (2003). [ Links ]
11. Brix, H. Wastewater treatment in constructed wetland: System design, removal process and treatment performance. In: Constructed Wetlands for Water Quality Improvement (ed. Moshiri, G.) 9-22, Capítulo 2 (Press Inc Boca de Ratón, Florida. EUA, 1993). [ Links ]
12. Wood, A. Constructed wetlands in water pollution control: fundamentals to their understanding. Water Environmental Research 32(3), 21-29 (1995). [ Links ]
13. Mitsch, W.J. et al. Creating wetlands: primary succession, water quality changes, and self-design over 15 years. Bioscience 62, 237-250 (2012). [ Links ]
14. Kadlec, R.H. & Wallace, D.S. Treatment Wetlands. Segunda Edición (Edit. CRC Press, 2009). [ Links ]
15. Hu, K. P. Overview: design of subsurface flow constructed wetland systems. Shanghai Environmental Science 8(9), 7-12 (1991). [ Links ]
16. Kadlec, R.H. Overview: Surface flow constructed wetlands. Water Environmental Research 32(3), 1-12 (1995). [ Links ]
17. Langergraber, G., Leroch, K., Pressl, A., Rohrhofer, R. & Haberl, R. A two-stage subsurface vertical flow constructed wetland for high-rate nitrogen removal. Water Science and Technology 57(12), 1881-1887 (2008). [ Links ]
18. Reed, S.C. Constructed wetland design- the first generation. Water Environmental Research 64(6), 776-782 (1992). [ Links ]
19. Land, M. et al. How effective are created or restored freshwater wetlands for nitrogen and phosphorus removal? A systematic review protocol. Environmental Evidence 2,16 (2013). [ Links ]
20. Miranda-Ríos, M. & Luna-Pabello, V.M. Estado del arte y perspectivas de aplicación de los humedales artificiales de flujo horizontal en México (Facultad de Química, UNAM, México, D.F., 2001) 121 págs. [ Links ]
21. Facultad de Arquitectura, UNAM. Plan maestro del Bosque de San Juan de Aragón (Facultad de Arquitectura, UNAM, México, D.F., 2008) 248 págs. [ Links ]
22. Facultad de Ingeniería, UNAM. Diagnóstico de las condiciones ambientales en que se encuentra actualmente el Bosque de San Juan de Aragón (México, D.F., Facultad de Ingeniería, UNAM, 2007) 60 págs. [ Links ]
23. Clesceri, L.S., Rice, E.W., Baird, R.B. & Eaton, A.D. Standard Methods for the Examination of Water and Wastewater (American Public Health Association, American Water Works Association, Water Environment Federation. 21st edition, EUA, 2005). [ Links ]
24. Norma Oficial Mexicana NOM-001-SEMARNAT-1996, que establece los límites máximos permisibles de contaminantes en las descargas de aguas residuales en aguas y bienes nacionales. México, D.F. Diario Oficial de la Federación, 06-01-1997. [ Links ]
25. Norma Oficial Mexicana NOM-003-SEMARNAT-1997, que establece los límites máximos permisibles de contaminantes para las aguas residuales tratadas que se reusen en servicios al público. México, D.F. Diario Oficial de la Federación, 21-09-1998. [ Links ]
26. Drizo, A., Frost, A.C., Smith, K.A. & Grace, J. Phosphate and ammonium distribution in constructed wetlands with horizontal subsurface flow, using shale as a substrate. Water Research. 34(9), 2483-2490 (2000). [ Links ]
27. Westholm, L.J. Substrates for phosphorus removal-Potential benefits for on-site wastewater treatment? Water Research 40, 23-36 (2006). [ Links ]
28. Reed, S.C. Subsurface flow wetlands- a performance evaluation. Water Environmental Research. Water Environmental Research. 76(2), 244-299 (1995). [ Links ]













