Introducción
Coquillett (1907) registró por primera vez un Psychodidae hematófago en América, pero fue hasta 1934 cuando Galliard dio a conocer las primeras especies en México (Galliard, 1934a, b): Phlebotomus yucatanensis (= Micropygomyia (Sauromyia) trinidadensis (Newstead, 1922)) y Phlebotomus almazani (= Lutzomyia (Lutzomyia) longipalpis (Lutz & Neiva, 1912)). Posteriormente, Bequaert (1938) presentó algunos datos sobre flebotominos de México con base en material proporcionado por Dampf y en el mismo año Dampf (1938) describió una especie con ejemplares procedentes de Texas, EUA, luego en 1944, dos especies de México, Phebotomus oppidanus (= Micropygomyia (Coquillettimyia) oppidana (Dampf, 1944)) y Phlebotomus vindicator (= Micropygomyia (Coquillettimyia) vindicator (Dampf, 1944)) (Dampf, 1944) y algunos años después describió a Phlebotomus chiapanensis (= Micropygomyia (Coquillettimyia) chiapanensis (Dampf, 1947a)) y el macho de Mi. vindicator (Dampf, 1947b).
Posterior estas primeras contribuciones continuaron los aportes sobre la fauna de flebotominos de México, principalmente por la labor de Vargas y Díaz-Nájera de 1951a 1959, Biagi y colaboradores de 1953a 1966, Díaz-Nájera de 1963 a 1971 y de Vargas en 1978. A partir de 1987 y hasta 1999, el autor del presente realizó la curación de la Colección Entomológica del Instituto de Salubridad y Enfermedades Tropicales, institución que cambiara de nombre en 1989 al de Instituto Nacional de Diagnóstico y Referencia Epidemiológicos (InDRE) de la Secretaría de Salud (Godínez-Álvarez & Ibáñez-Bernal, 2010), así como de otros ejemplares capturados por el autor y grupo de colaboradores, lo que permitió la revisión de las especies conocidas hasta el último año del siglo pasado en México (Ibáñez-Bernal, 2001a, b; 2002, 2003) y la elaboración de claves taxonómicas para su identificación (Ibáñez-Bernal, 2005a, b), las cuales incluían 38 especies que se conocían hasta ese momento. Estas claves para la identificación han facilitado la investigación de este grupo de insectos y los patógenos que transmiten por diversos grupos de investigación, así como los trabajos de vigilancia de Phlebotominae y de las leishmaniasis en México por 17 años. No obstante, en este lapso se han registrado especies que no se conocían con anterioridad en México y se han descrito nuevas especies (16 especies, equivalente a 30% más especies de las que se conocían en el 2005), al tiempo que la clasificación filogenética propuesta por Galati (1995, 2003, 2018, 2021) se ha formalizado, por lo que ha cambiado la asignación de géneros y subgéneros. Esto hace necesaria una actualización de las claves taxonómicas que permitan la identificación de las especies conocidas en México, con base en las características de machos y hembras.
Materiales y métodos
Ejemplares. La mayoría de los ejemplares sobre los cuales se basan las claves para la identificación y los dibujos que se presentan, están depositados en la Colección de Artrópodos con Importancia Médica (CAIM) del Instituto de Diagnóstico y Referencia Epidemiológicos, Secretaría de Salud Ciudad de México, México, y en la Colección Entomológica (IEXA) del Instituto de Ecología, A. C., Xalapa, Veracruz, México.
Dibujos. Los esquemas de las principales características para la identificación fueron en su gran mayoría redibujados de aquellos presentados en los trabajos de Ibáñez-Bernal (1999; 2001a, b; 2002; 2003; 2005a, b), y de Ibáñez-Bernal et al. (2006, 2010, 2015, 2017), excepto en los casos indicados. Se empleó una técnica mixta con tinta China y lápices de diversa dureza. Posteriormente fueron digitalizados y mejorados con el programa Corel Photo-Paint. Los dibujos de los terminalia y de los parámeros de los machos están dibujados lateralmente mostrando únicamente las estructuras del lado izquierdo.
Terminología. En el presente trabajo se emplea la terminología morfológica propuesta por Galati et al. (2017) y Galati (2018), pero castellanizada. Los términos que se utilizan en estas claves y las abreviaturas usadas en las figuras se presentan a continuación en orden alfabético.
Glosario de las estructuras usadas en las claves para la identificación
Ing: inglés; Gri.: griego; Lat.: latín; Plu.: plural; Sin: singular.
Cabeza
Ascoide(s). (Plu., ascoids; Ing: ascoid). Un tipo de sensila tricoide con una o varias ramas laminares que se encuentran en los flagelómeros de las antenas de Psychodidae (Feuerborn, 1922). En Phlebotominae, los ascoides son sencillos con una sola rama dirigida hacia la parte distal, o adicionalmente con un espolón o rama larga dirigida hacia la parte proximal.
Cibario. (Gri, Ing: cibarium). Tanto en machos como hembras, la bomba para succionar alimento líquido. Es un tubo esclerotizado continuo con el tracto digestivo derivado de la porción posterior de la cavidad preoral y el inicio de la faringe (Cumming & Wood, 2009). En Phlebotominae, generalmente es sencillo, pero en las hembras puede presentar dientes anteriores y posteriores útiles para el reconocimiento de especies (Galati, 2018; Galati et al., 2017).
Dientes cibariales anteriores. (Ing: anterior teeth) Presentes en las hembras de Phlebotominae. Son estructuras esclerotizadas a manera de espinas o dientes que se originan de la pared anterior del cibario, cuyo número, tamaño y disposición son diferentes de acuerdo con las especies. En trabajos previos corresponden a los llamados dientes cibariales verticales, ya que se observan dirigidos hacia el observador.
Dientes cibariales posteriores. (Ing: posterior teeth). Presentes en las hembras de Phlebotominae. Son estructuras esclerotizadas a manera de espinas o dientes que se originan de la pared posterior del cibario, cuyo número, tamaño y disposición varía de acuerdo con las especies. En trabajos previos corresponden a los llamados dientes cibariales horizontales.
Flagelo. (Gri, Ing: flagellum (sin.)). Tercera porción y tercer segmento verdadero de la antena articulado al pedicelo, que puede estar dividido en un número variable de artejos denominados flagelómeros (Cumming & Wood, 2009). En Phlebotominae el flagelo se compone de 14 flagelómeros con forma de botella (ligeramente más ancho en la base) (Galati et al., 2017).
Flagelómero. (Ing: flagellomere). Véase Flagelo.
Palpo. (Gri, Ing, palpus, palp (sin.), palpi (plu.). En Diptera, se refiere al palpo maxilar. Estructura táctil relacionada a las piezas bucales, originada de la maxila (Cumming & Wood, 2009). En Phlebotominae se encuentra dividido en cinco segmentos, cada uno con longitud variable según las especies.
Tórax
Anepisternón. (Gri, Ing: anepisternum). La porción del mesopleurón enfrente de la base del ala, entre el espiráculo torácico anterior y la sutura pleural, limitado en la parte inferior por el catepisternón (katepisternum) (Cumming & Wood, 2009). En Phlebotominae se distingue una porción superior (Ing: upper anepisternum), y una porción inferior (Ing: lower anepisternum) que pueden presentar sedas (Galati, 2018; Galati et al., 2017).
Delta. En las alas de Phlebotominae, la longitud que existe entre la bifurcación de las venas R2 y R3 y el punto en el que termina la vena R1; puede ser positiva si la R1 termina después del nivel en el que se ramifican las venas R2 y R3 o negativa si termina antes de esa bifurcación (Galati, 2018; Galati et al., 2017).
Escudo. (Gri, Ing, scutum (sin.), scuta (plu.)). El segundo esclerito dorsal del meso y metatórax, siendo la división media del noto que ocupa la mayor parte del dorso torácico en Diptera (Torre-Bueno, 1989).
Escudete. (Gri, Ing: scutellum (sin.), scutella (plu.)). Proyección redondeada o triangular por detrás del escudo que se proyecta por encima de la base del abdomen y separada del escudo por la sutura escudo-escutelar (Ing, scutoscutellar suture) (Cumming & Wood, 2009).
Paraterguito. (Ing. paratergite). En el tórax, la pequeña placa a manera de cuña delgada a lo largo del borde lateral del escudo que se extiende entre el pospronoto y la base del ala (Cumming & Wood, 2017).
Pleura. (Gri. Ing. : pleuron, sing., pleura, plu.) Región lateral de los segmentos torácicos (Torre-Bueno, 1989).
Pronoto. (Gri., Ing.: pronotum). Porción dorsal del protórax (Torre-Bueno, 1989).
Abdomen
Apodema edeagal. (Ing: aedeagal apodeme). En machos de Phlebotominae, la estructura esclerotizada que se origina del saco espermático (que está en la base de los conductos espermatecales), dirigida hacia la parte anterior y a la cual se sujetan músculos (Torre-Bueno, 1989; Galati et al., 2017; Galati, 2018).
Bomba espermática. (Ing: sperm pump). En machos de Phlebotominae, la parte del edeago (véase) conformada por el apodema y el saco espermático (Galati et al., 2017; Galati, 2018).
Capítulo de la espermateca. (Ing., terminal knob). En hembras de Phlebotominae, la estructura apical diferenciada de la espermateca.
Cerco(s). (Gri, Ing: cercus (sin.) cerci (plu.)). Tanto en machos como hembras, el par de lóbulos terminales a cada lado del ano, derivados del proctígero (Gri, Ing: proctiger; segmento 11 del abdomen que lleva los cercos y el ano) (Cumming & Wood, 2009).
Conductos edeagales. (Ing: aedeagal ducts). En los machos de Phlebotominae, la porción distal del edeago (véase) originada de la bomba espermática (véase), compuesta de dos conductos a manera de filamentos cortos o largos, delgados o anchos, con el ápice sencillo o dilatado, truncado, oblicuo, a manera de punta de lanza, de cuchara o de gancho, clavado, con dientes o sin ellos, etc., dependiendo de la especie (Galati et al., 2017; Galati, 2018).
Conducto espermatecal común. (Ing: common duct). En hembras de Phlebotominae, el conducto único que se abre en el gonoporo al exterior. Su tamaño relativo con respecto a los conductos espermatecales individuales y a la espermateca es útil para el reconocimiento de especies.
Conducto espermatecal individual. (Ing: individual ducts). En hembras de Phlebotominae, cada uno del par de conductos que se bifurcan a partir del conducto espermatecal común y que concluyen en la base de las espermatecas. Su tamaño relativo en comparación con la espermateca y el conducto espermatecal común es útil para diferenciar especies.
Edeago. (Gri, Ing: aedeagus). Órgano intromitente tubular con abertura distal o falotrema (Gri e Ing: phalotrema) de los machos (Cumming & Wood, 2009), cuya función es la transferencia de esperma a la hembra durante la cópula. En Phlebotominae el edeago está conformado por la bomba espermática (apodema eyaculador + saco espermático) y el par de conductos edeagales (Galati et al., 2017; Galati, 2018).
Espermateca. (Gri, Ing: spermatheca (sing), spermathecae (plu.)). Estructura esclerotizada de las hembras donde se almacena el esperma transferido por el macho durante la cópula (Torre-Bueno, 1989). En Phlebotominae hembras, existe un par con forma y tamaño diferente según la especie.
Fórmula del gonostilo. Forma en que las sedas espiniformes están dispuestas desde la base al ápice, ej. 2+1+1: dos sedas cerca de la base al mismo nivel, una seda intermedia y una seda apical.
Furca genital. (Ing: genital fork). En hembras de Diptera, esclerito en forma de Y de la pared dorsal de la cámara genital y que corresponde a una modificación interna del noveno esternito abdominal (Torre-Bueno, 1989).
Gonocoxito. (Ing, gonocoxite). En machos, el componente basal de los dos que componen el gonopodio, esto es, el aparato sujetador de la hembra durante la cópula (Cumming & Wood, 2009).
Gonostilo. (Ing, gonostyle). En machos, el componente apical de los dos que componen el gonopodio, esto es, el aparato sujetador de la hembra durante la cópula (Cumming & Wood, 2009).
Lóbulo epandrial. (Ing, epandrial lobe). En machos, cada uno del par de lóbulos articulados al noveno terguito que se asocian con los gonopodios para sujetar a la hembra durante la cópula (Cumming & Wood, 2009). En Phlebotominae, normalmente tiene forma de bastón, con longitud y anchura variables.
Mechón basal de sedas del gonocoxito. Grupo de sedas sencillas o modificadas persistentes que se originan de la superficie o de un tubérculo en la base del gonocoxito.
Parámero. (Ing, paramere, sin.; parameres, plu.). En los terminalia de machos, uno del par de procesos dirigidos posteriormente sujetos al apodema gonocoxal y que se encuentran a cada lado del edeago (Cumming & Wood, 2017). En Phlebotominae, el parámero tiene forma diferente según las especies y en la base hacia la parte media forman las vainas paramerales que guían los conductos edeagales durante la cópula (Galati et al., 2017).
Saco espermático. (Ing. spermatic sac). En machos de Phlebotominae, la estructura ensanchada que se encuentra entre el apodema eyaculador y los conductos edeagales. El saco espermático junto con el apodema eyaculador conforman la bomba espermática (Galati et al., 2017).
Seda espiniforme. En Phlebotominae, cualquier seda robusta a manera de espina (puntiaguda o roma). El término se emplea para sedas comparativamente grandes y fuertes que se encuentran en el gonostilo en número, tamaño y disposición diferente en las diferentes especies.
Seda foliácea. Tipo de seda especializada aplanada a manera de hoja.
Sedas persistentes. Aquellas sedas del cuerpo que resisten el proceso de preparación para su observación al microscopio compuesto, esto es, al macerado, deshidratación y diafanización del espécimen.
Seda terminal delicada del gonostilo. Seda delgada y mucho más pequeña que las sedas espiniformes, que se encuentra muy cerca del ápice del gonostilo.
Terminalia. (Gri. Ing., plu). Término empleado para referirse al conjunto de estructuras derivadas de los segmentos IX y posteriores, que conforman los genitales y estructuras asociadas a la reproducción.
Vaina parameral. (Ing: parameral sheath). Estructura formada por dos proyecciones más o menos cónicas por los que atraviesan los conductos edeagales y que les sirven como soporte durante la cópula.
Para facilitar la identificación, se presenta la descripción de una técnica sugerida para el montaje de ejemplares para su observación bajo el microscopio compuesto, la lista de las especies conocidas en México en orden filogenético y las claves para la identificación de machos y hembras de las especies conocidas en México.
Abreviaturas usadas en las figuras
CABEZA: asc: ascoide; cib: cibario; dca: dientes cibariales anteriores; dcp: dientes cibariales posteriores; fla: flagelómero; pal-: segmento del palpo.
TÓRAX: ane: anepisternón; δ: delta; ple: pleura; pno: pronoto; ptg: paraterguito; scd: escudo; sct: escudete.
ABDOMEN: ape: apodema edeagal; bdp: brazo dorsal del parámero; bes: bomba espermática; cec: conducto espermatecal común; ced: conductos edeagales; cei: conducto espermatecal individual; cer: cerco; ces: capítulo de la espermateca; ede: edeago; fge: furca genital; gcx: gonocoxito; gst: gonostilo; lep: lóbulo epandrial; mbg: mechón basal del gonocoxito; par: parámero; sep: seda espiniforme; ses: saco espermático; sfo: seda foliácea; spe: espermateca; spr: sedas persistentes; std: seda terminal delicada; vpa: vaina parameral.
Resultados
Método de preparación de ejemplares adultos para estudio taxonómico. Debido al tamaño pequeño de los organismos y a las características morfológicas que hay que observar para su identificación taxonómica, es necesario el montaje de los ejemplares en laminillas (portaobjetos y cubreobjetos) para su observación bajo un microscopio compuesto. Se recomienda que el microscopio tenga una reglilla de ocular, ya que las proporciones de las diferentes estructuras suelen ser un recurso común para distinguir algunas especies.
Los métodos de preparación y montaje en porta y cubreobjetos pueden ser de tipo temporal, semipermanente o permanente según el medio de montaje que se emplee, pero se recomienda que las preparaciones sean permanentes para que los ejemplares puedan ser observados, revisados o consultados mucho tiempo después. Existen muchas variantes en los procedimientos, reactivos y forma de disección, diseñados para la preparación de adultos de flebotominos de los dos sexos (e.g., Wirth & Marston 1968; Maroli et al., 1997), pero el método presentado por Ibáñez-Bernal (2005a) ha sido utilizado por el autor durante muchos años con buenos resultados. A continuación, se presenta ese método con mayor detalle.
Materiales. Vidrios de reloj; goteros; portaobjetos; lápiz de diamante para cortar los cubreobjetos; cubreobjetos cuadrados de 18 mm cortados en cuatro partes o cubreobjetos redondos de 10 mm de diámetro; pineretas o minucias (Ing: minuten insect pins) en mango portaagujas.
Reactivos. Agua bidestilada; solución jabonosa al 5%; Sosa (NaOH) al 10%; etanol al 70%; negro de clorazol diluido en etanol al 70%; etanol al 96%; etanol absoluto (100%) grado analítico; esencia de clavo pura; Euparal o bálsamo de Canadá como medio de montaje (de preferencia que el bálsamo de Canadá no esté diluido en xylol; puede diluirse la cantidad que vaya a emplearse con un poco de etanol absoluto o esencia de clavo, pero que el bálsamo no pierda demasiado su viscosidad).
Método de montaje
1. Los ejemplares de flebotominos, sin importar si han sido preservados en seco o en etanol, se colocan en una solución jabonosa al 5% durante dos o cuatro horas. Este procedimiento permite que los ejemplares preservados en seco pierdan la tensión superficial hidrófoba con lo que se facilita la hidratación de los tejidos, mientras que para ejemplares preservados en etanol promueve la hidratación y la eliminación del fijador (etanol) facilitando la maceración de los tejidos.
2. Desprender las alas desde la base y transferirlas a agua bidestilada para quitar las trazas de solución jabonosa, después transferirlas a etanol al 70% (con negro de clorazol si se desea tinción o contraste, véase adelante) por 10 minutos, pasarlas a etanol al 96% por 5 minutos, luego a etanol al 100% por 3 minutos, y finalmente a esencia de clavo por al menos 5 minutos (debe eliminarse el brillo de la superficie del ejemplar). Las alas se reservan para ser montadas en la laminilla para microscopio.
3. El ejemplar, ya sin alas, se transfiere a sosa (NaOH al 10%) por alrededor de 24 horas a temperatura ambiente. Se recomienda hacer una fisura en la membrana intersegmental entre los tergos II y III, y presionar varias veces con ligereza, sin deformar el cuerpo del organismo, para que la sosa penetre al interior del cuerpo. Cabe mencionar que el tiempo de maceración varía dependiendo si fue preservado en seco (se requiere menos tiempo) o en etanol (más tiempo, sobre todo si ha estado en este fijador mucho tiempo), así como también de la temperatura del lugar (entre más alta la temperatura menor tiempo de maceración), pero en todos los casos es conveniente no almacenar por mucho tiempo los ejemplares para realizarlas preparaciones. No se recomienda usar sosa caliente ya que el ejemplar puede deteriorarse.
4. Una vez que se ha logrado macerar los tejidos internos, el ejemplar se coloca en agua o en agua acidulada (solución de ácido acético en agua al 5%) por al menos 10 minutos para eliminar las trazas de sosa.
5. Continuar con el proceso de deshidratación paulatino en etanol graduado ascendente del 70, 96 y 100% por lo menos 10 minutos en cada uno de ellos y en este orden, pero utilizando etanol al 30, 50, 70, 96 y 100% por 10 minutos en cada dilución se reduce la posibilidad de que las espermatecas se deformen. Si se desea teñir o contrastar las estructuras, durante el proceso de deshidratación cuando corresponda al etanol al 70%, se agrega el negro de clorazol (diluido en etanol al 70%) por 5-10 minutos, y posteriormente se elimina el exceso de dicho colorante en etanol al 70% limpio por 1-2 minutos (Si se deja más tiempo en etanol al 70% se eliminará completamente el negro de clorazol), para proseguir con la deshidratación en etanol al 96 % y 100% como ya fue descrito. No dejar más tiempo los ejemplares en etanol al 100% ya que se evapora muy rápido y se deshidrata el ejemplar o, de manera contraria, el etanol podría hidratarse en zonas con alta humedad atmosférica.
Resulta de gran utilidad el empleo de una solución saturada de negro de clorazol aplicado a los ejemplares cuando se inicia la deshidratación (etanol al 70%), ya que este colorante tiñe diferencialmente las estructuras tegumentarias membranosas sin afectar las áreas más esclerotizadas (Carayon, 1969; Martínez, 1999). Cuando se emplea negro de clorazol, hay que reducir el tiempo de permanencia del ejemplar en los alcoholes graduales siguientes, ya que el colorante se elimina fácilmente.
6. Diafanizar en esencia de clavo pura al menos 10 minutos. En esta sustancia los ejemplares pueden permanecer almacenados por mucho tiempo. La esencia de clavo es menos agresiva que el fenol o el xylol. Si la superficie del organismo se observa con reflejos brillantes o manchas lechosas, dejar más tiempo para que se elimine por completo todo residuo de agua.
7. Existen muchos medios para el montaje, pero los más utilizados son el bálsamo de Canadá y el Euparal. Se recomienda usar Euparal debido a que es más transparente, su índice de difracción es óptimo, seca más rápido a 40°C y no se obscurece con el tiempo. Si se realizan preparaciones con bálsamo de Canadá, deberá tenerse mayor cuidado en que sean almacenadas en total oscuridad, ya que la luz acelera su oscurecimiento.
8. Con excepción de las alas, que fueron desprendidas previamente y reservadas para su montaje junto con el ejemplar correspondiente, el resto del ejemplar deberá disecarse sobre la laminilla bajo el microscopio estereoscópico.
Preparación invertida. Dividir virtualmente el portaobjetos en tres partes iguales. En el extremo izquierdo deberá colocarse la etiqueta con los datos de captura (País, Estado, Municipio, localidad, lugar de colecta, fecha de colecta, hora, forma de colecta, nombre del colector). En el extremo derecho se colocará la etiqueta con los datos taxonómicos una vez que el ejemplar haya sido identificado, el sexo del ejemplar y el nombre de la persona que identificó el ejemplar. El tercio central es el espacio en el que se colocarán las partes del ejemplar una vez disecado.
Las partes del organismo por disecar dependerá de las aptitudes manuales del preparador e incluso de las necesidades específicas de la investigación. Las alas ya desprendidas previamente se colocarán bajo un cubreobjetos independiente, la cabeza con antenas y piezas bucales con los segmentos terminales del abdomen o terminalia (segmentos genitales y posgenitales) juntos bajo otro cubreobjetos y el resto del cuerpo bajo un tercer cubreobjetos, de tal forma que una preparación tenga todas las estructuras del ejemplar bajo tres cubreobjetos independientes en el mismo portaobjetos. Se recomienda que la disección se realice sobre uno de los cubreobjetos y las partes separadas se transfieran con las minucias de disección a su cubreobjetos correspondiente.
La preparación debe hacerse sobre uno de los cubreobjetos, previamente fijados a un portaobjetos mediante una gota pequeña de agua bidestilada (una cantidad suficiente para que haya tensión entre porta y cubreobjetos evitando que se mueva); sobre el cubreobjetos se coloca una gota de Euparal y se transfiere el ejemplar para su disección.
En el caso de ejemplares machos, se separa la cabeza del tórax y se acomoda con la superficie posterior hacia el cubreobjetos con las antenas y palpos extendidos hacia abajo; de esta manera, será posible observar libremente el cibario a través del foramen magnum. El cuerpo se coloca con el lado izquierdo hacia abajo. Las patas deben extenderse para que no bloqueen la observación de ninguna estructura. Debe tenerse cuidado de que los terminalia queden colocados en vista lateral perfecta.
Para los ejemplares hembra, la disección se realiza de la misma forma como se describió para el macho en lo que respecta a la cabeza, cuerpo y apéndices. Con relación a los genitales, se recomienda observar las espermatecas por transparencia al través de la pared del abdomen con un microscopio compuesto, en un medio de glicerina pura (cuando el ejemplar está en etanol al 70% o en esencia de clavo (al momento de la diafanización) en un portaobjetos excavado y dibujarlas o fotografiarlas antes de realizar la preparación permanente, ya que es muy común que estas estructuras se colapsen, se deformen o se rompan con los medios de montaje permanentes, como ocurre, por ejemplo, en el caso de las especies de los subgéneros Dampfomyia (Dampfomyia) y de Dampfomyia (Coromyia). Una vez observadas en fresco, pueden montarse con las otras porciones del ejemplar sobre el cubreobjetos. Las espermatecas pueden ser disecadas separando el extremo distal del abdomen, para que se observen libres. No obstante, se corre el riesgo de romper los conductos espermatecales. Si el abdomen se coloca con la región ventral hacia abajo, las espermatecas pueden verse con mayor facilidad al través de los esternones una vez que se invierte la preparación. Su observación se dificulta si el abdomen se orienta lateralmente o con la porción dorsal hacia el cubreobjetos, debido a que los tergos están más esclerotizados.
La muestra una vez disecada debe secar por 24 horas a 37-40°C, al cabo de lo cual se separa el cubreobjetos del portaobjetos que estaba adherido por la gota de agua, se coloca una gota pequeña de Euparal sobre el portaobjetos en la posición donde se requiera y se invierte el cubreobjetos para colocarlo sobre dicha gota para completar la preparación.
Una laminilla elaborada de manera invertida mantiene las estructuras muy cercanas al cubreobjetos, lo que permite el uso del objetivo de inmersión, a la vez que se evita el desplazamiento de las estructuras hacia las orillas o fuera del cubreobjetos y se elimina la posibilidad de deformar, desorientar o aplastar las estructuras, lo que puede dificultar la identificación.
Lista de las especies de Phlebotominae conocidas en México
Sin considerar las especies fósiles, a la fecha se conocen 53 especies de Phlebotominae en México (Ibáñez-Bernal & Durán-Luz, 2022; Rebollar-Téllez et al., 2023), las cuales se enlistan a continuación en orden filogenético (categorías supraespecíficas) y alfabético (especies):
Tribu PHLEBOTOMINI Rondani, 1840
Subtribu BRUMPTOMYIINA Artemiev, 1991
Género BrumptomyiaFrança & Parrot, 1921
1. Brumptomyia hamata (Fairchild & Hertig, 1947a)
2. Brumptomyia mesaiSherlock, 1962
Subtribu SERGENTOMYIINA Galati, 2003
Género MicropygomyiaBarretto, 1962
Subgénero Micropygomyia (Coquillettimyia) Galati, 2003
Serie chiapanensis Theodor, 1965
3. Micropygomyia (Coquillettimyia) californica (Fairchild & Hertig, 1957)
4. Micropygomyia (Coquillettimyia) chiapanensis (Dampf, 1947a)
5. Micropygomyia (Coquillettimyia) stewarti (Mangabeira & Galindo, 1944)
Serie vexator Fairchild, 1955
6. Micropygomyia (Coquillettimyia) apache (Young & Perkins, 1984)
7. Micropygomyia (Coquillettimyia) nahuaIbáñez-Bernal, García-Torrez & Vásquez-Márquez, 2017
8. Micropygomyia (Coquillettimyia) oppidana (Dampf, 1944)
9. Micropygomyia (Coquillettimyia) vexator (Coquillett, 1907)
10. Micropygomyia (Coquillettimyia) vindicator (Dampf, 1944)
Subgénero Micropygomyia (Micropygomyia) s. str. Barretto, 1962
Serie cayennensis Fairchild, 1955
11. Micropygomyia (Micropygomyia) cayennensis (Floch & Abonnenc, 1941a)
Subespecie Micropygomyia (Micropygomyia) cayennensis cayennensis (Floch & Abonnenc, 1941a)
Subespecie Micropygomyia (Micropygomyia) cayennensis maciasi (Fairchild & Hertig, 1948b)
12. Micropygomyia (Micropygomyia) ctenidophora (Fairchild & Hertig, 1948b)
13. Micropygomyia (Micropygomyia) durani (Vargas & Diaz-Nájera, 1952)
Subgénero Micropygomyia (Sauromyia) Galati, 2003
Serie oswaldoi Barretto, 1962
14. Micropygomyia (Sauromyia) pratti (Vargas & Diaz-Nájera, 1951a)
15. Micropygomyia (Sauromyia) trinidadensis (Newstead, 1922)
Subtribu LUTZOMYIINA Abonnenc & Leger, 1976b
Género LutzomyiaFrança, 1924
Subgénero Lutzomyia (Helcocyrtomyia) Barretto, 1962
Serie sanguinaria Barretto, 1962
16. Lutzomyia (Helcocyrtomyia) hartmanni (Fairchild & Hertig, 1957)
Serie incertae
17. Lutzomyia (Helcocyrtomyia) vargasi (Fairchild & Hertig, 1961a)
Subgénero Lutzomyia (Lutzomyia) França, 1924
18. Lutzomyia (Lutzomyia) longipalpis (Lutz & Neiva, 1912)
Subgénero Lutzomyia (Tricholateralis) Galati, 2003
19. Lutzomyia (Tricholateralis) cruciata (Coquillett, 1907)
20. Lutzomyia (Tricholateralis) diabolica (Hall, 1936)
21. Lutzomyia (Tricholateralis) gomezi (Nitzulescu, 1931)
Lutzomyia incertae sedis
22. Lutzomyia manciolaIbáñez-Bernal, 2001b
23. Lutzomyia vargasi (Fairchild & Hertig, 1961a)
Género PintomyiaCosta Lima, 1932
Subgénero Pintomyia (Pifanomyia) Ortiz & Scorza, 1963
Serie evansi Galati, 1995
24. Pintomyia (Pifanomyia) evansi (Nuñez-Tovar, 1924)
25. Pintomyia (Pifanomyia) ovallesi (Ortiz, 1952)
Serie serrana Barretto, 1962
26. Pintomyia (Pifanomyia) serrana (Damasceno & Arouck, 1949)
Serie verrucarum Fairchild, 1955
27. Pintomyia (Pifanomyia) itzaIbáñez-Bernal, May-Uc & Rebollar-Tellez, 2010
Género DampfomyiaAddis, 1945a
Subgénero Dampfomyia (Coromyia) Barretto, 1962
28. Dampfomyia (Coromyia) beltrani (Vargas & Díaz-Nájera, 1951b)
29. Dampfomyia (Coromyia) deleoni (Fairchild & Hertig, 1947b)
30. Dampfomyia (Coromyia) disneyi (Williams, 1987)
31. Dampfomyia (Coromyia) steatopyga (Fairchild & Hertig, 1958a)
Subgénero Dampfomyia (Dampfomyia) Addis, 1945a
32. Dampfomyia (Dampfomyia) anthophora (Addis, 1945a)
33. Dampfomyia (Dampfomyia) atulapai (De León, 1971)
34. Dampfomyia (Dampfomyia) dodgei (Vargas & Diaz-Nájera, 1953a)
35. Dampfomyia (Dampfomyia) leohidalgoi (Ibáñez-Bernal, Hernández-Xoliot & Mendoza, 2006)
36. Dampfomyia (Dampfomyia) permira (Fairchild & Hertig, 1956)
Grupo delpozoi Young & Fairchild, 1974
37. Dampfomyia delpozoi (Vargas & Díaz-Nájera, 1953a)
38. Dampfomyia inusitata (Fairchild & Hertig, 1961a)
Dampfomyia incertae sedis
39. Dampfomyia caminoi (Young & Duncan, 1994)
Género TrichopygomyiaBarretto, 1962
40. Trichopygomyia triramula (Fairchild & Hertig, 1952)
Subtribu PSYCHODOPYGINA Galati, 1995
Género PsathyromyiaBarretto, 1962
Subgénero Psathyromyia (Forattiniella) Vargas, 1978
41. Psathyromyia (Forattiniella) carpenteri (Fairchild & Hertig, 1953a)
42. Psathyromyia (Forattiniella) texana (Dampf, 1938)
Subgénero Psathyromyia (Psathyromyia) Barretto, 1962
Serie shannoniFairchild, 1955
43. Psathyromyia (Psathyromyia) cratifer (Fairchild & Hertig, 1961b)
44. Psathyromyia (Psathyromyia) dasymera (Fairchild & Hertig, 1961b)
45. Psathyromyia (Psathyromyia) shannoni (Dyar, 1929)
46. Psathyromyia (Psathyromyia) undulata (Fairchild & Hertig, 1950)
Subgénero Psathyromyia (Xiphopsathyromyia) Ibáñez-Bernal & Marina, 2015, In: Ibáñez-Bernal et al., 2015.
47. Psathyromyia (Xiphopsathyromyia) aclydifera (Fairchild & Hertig, 1952)
Psathyromyia incertae sedis
48. Psathyromyia mayaIbáñez-Bernal, May-Uc & Rebollar-Téllez, 2010
Género BichromomyiaArtemiev, 1991
49. Bichromomyia olmeca olmeca (Vargas & Díaz-Nájera, 1959)
Género PsychodopygusMangabeira, 1941a
Serie guyanensis Barretto, 1962
50. Psychodopygus corossoniensis (Le Pont & Pajot, 1978)
Serie panamensis Young & Fairchild, 1974
51. Psychodopygus panamensis (Shannon, 1926)
Psychodopygus incertae sedis
52. Psychodopygus bispinosus (Fairchild & Hertig, 1951)
Género NyssomyiaBarretto, 1962
53. Nyssomyia ylephiletor (Fairchild & Hertig, 1952)
Adicionalmente se han descrito dos especies fósiles, Micropygomyia (Sauromyia) paterna (Quate, 1963) y Pintomyia bolontikuiIbáñez-Bernal, Solórzano-Kraemer, Stebner & Wagner, 2014, pero no se incluyen en las claves para la identificación.
Clave para la identificación de las especies de Phlebotominae conocidas en México Machos
Los machos de Psathyromyia (Psathyromyia) maya y de Lutzomyia manciola no se conocen todavía. El macho de Micropygomyia (Micropygomyia) ctenidophora no ha sido descrito (Young & Duncan 1994), Dampfomyia caminoi carece de una descripción completa de los terminalia del macho. Las subespecies Micropygomyia (Micropygomyia) cayennensis cayennensis y Micropygomyia (Micropygomyia) cayennensis maciasi no pueden reconocerse con base en las características del macho.
1. Gonostilo con 5 sedas espiniformes, dos de ellas originándose del mismo tubérculo. Gonocoxito con una hilera longitudinal de sedas robustas en adición al mechón basal de sedas (Figs 3, 4) . . . 2
1a. Gonostilo con 1-8 sedas espiniformes, casi siempre originándose de manera separada, pero si dos de ellas se originan del mismo tubérculo, el gonocoxito carece de la hilera longitudinal de sedas robustas. . . . . . . . . . . . . . . . . . . . . . . . . . . . . . . . . . . . . . . . . . . . . . . . . . . . . . . . . . . . . . . . . . . . . . . . . . . . . . . . 3
2 (1). Gonocoxito con el mechón basal de sedas foliáceas (Fig. 2) sobre un tubérculo y una hilera de 5-6 sedas robustas dispuestas en hilera longitudinal en la cara interna (Fig. 3) . . . . . . . . . . . . . . . . . . . . . . . . . . . . . . . . . . . . . . . . . . . . . . . . . . . . . . . . . . . . . . . . . . . . . . . . . . . . . . . . . . . Brumptomyia mesai
2a. Gonocoxito con el mechón basal sésil con sedas delgadas, curvas en sus ápices y una hilera longitudinal de seis sedas robustas dispuestas en hilera longitudinal en la cara interna; si son siete, la apical es delicada (Fig. 4) . . . . . . . . . . . . . . . . . . . . . . . . . . . . . . . . . . . . . . . . . Brumptomyia hamata
3 (1a). Palpo con el segmento 5 mayor que la mitad de la longitud del segmento 3 (como en la Fig. 34) . . . . . . . . . . . . . . . . . . . . . . . . . . . . . . . . . . . . . . . . . . . . . . . . . . . . . . . . . . . . . . . . . . . . . . . . . . . . . . . . . 6
3a. Palpo con el segmento 5 aproximadamente igual o menor que la mitad de la longitud del segmento 3 (Figs. 7, 9) . . . . . . . . . . . . . . . . . . . . . . . . . . . . . . . . . . . . . . . . . . . . . . . . . . . . . . . . . . . . . . . . . . . 4
4 (3a). Parámero sencillo, sin ramas (Figs. 8, 10, 11). Gonostilo con una o dos sedas espiniformes robustas (Figs. 8, 10) . . . . . . . . . . . . . . . . . . . . . . . . . . . . . . . . . . . . . . . . . . . . . . . . . . . . . . . . . . . . . . . . . . . . 5
4a. Parámero complejo, con dos tubérculos en la parte proximal que dan origen a sedas lanceoladas y en la parte distal una seda preapical y una apical, ambas sencillas pero robustas (Fig. 5). Gonocoxito con una seda larga preapical. Gonostilo con 4 sedas espiniformes, todas originándose en el tercio distal a diferentes niveles, la más basal sésil, la posbasal originada de un tubérculo corto, la preapical delicada y la apical robusta (Fig. 6). . . . . Psychodopygus panamensis
5 (4). Gonostilo con dos sedas espiniformes robustas en el ápice. Parámero corto, cónico y recto, ligeramente más largo que la vaina parameral y más corto que el lóbulo epandrial (Fig. 8) . . . . . . . . . . . . . . . . . . . . . . . . . . . . . . . . . . . . . . . . . . . . . . . . . . . . . . . . . . . . . . . . . . . . . . Psychodopygus bispinosus
5a. Gonostilo con una seda espiniforme robusta en el ápice (Fig. 10). Parámero largo, delgado y curvo, el doble de largo que la vaina parameral y tan largo que sobrepasa el ápice del lóbulo epandrial (Figs. 10, 11). . . . . . . . . . . . . . . . . . . . . . . . . . . . . . . . . . . . . . . . . . . Psychodopygus corossoniensis
6 (3). Conductos edeagales con los ápices especializados, siendo cada uno tan ancho como el saco espermático (Fig. 12) . . . . . . . . . . . . . . . . . . . . . . . . . . . . . . . . . . . . . . . . . . . . . . . . . . Dampfomyia caminoi
6a. Conductos edeagales sencillos o con los ápices especializados, pero los ápices nunca son tan anchos como el saco espermático. . . . . . . . . . . . . . . . . . . . . . . . . . . . . . . . . . . . . . . . . . . . . . . . . . . . . . . . . 7
7 (6a). Lóbulo epandrial grueso, tan largo como 7.0 ó menos veces su propia anchura (como en las Figs. 13, 15-18) . . . . . . . . . . . . . . . . . . . . . . . . . . . . . . . . . . . . . . . . . . . . . . . . . . . . . . . . . . . . . . . . . . . . . . . . . 8
7a. Lóbulo epandrial delgado, su longitud mayor de 7 .5 veces su propia anchura (como en las Figs. 35-39) . . . . . . . . . . . . . . . . . . . . . . . . . . . . . . . . . . . . . . . . . . . . . . . . . . . . . . . . . . . . . . . . . . . . . . . . . . . . . . . . 12
8 (7). Gonostilo con cuatro sedas espiniformes y una seda terminal delicada (Figs. 13, 15) . . . . . . . 9
8a. Gonostilo con dos sedas espiniformes, una seda terminal delicada y otra seda delicada en posición basal (Figs. 16-18) . . . . . . . . . . . . . . . . . . . . . . . . . . . . . . . . . . . . . . . . . . . . . . . . . . . . . . . . . . . . . 10
9 (8). Gonocoxito con un mechón basal de sedas simples; parámero delgado en la parte media, arqueado hacia arriba, con una protuberancia ventral angulada en el tercio distal (Fig. 15) . . . . . . . . . . . . . . . . . . . . . . . . . . . . . . . . . . . . . . . . . . . . . . . . . . . . . . . . . . . . . . . . . . Dampfomyia (Coromyia) deleoni
9a. Gonocoxito con una seda basal robusta pectinada (Fig. 13); parámero fusiforme, grueso en la parte media, con un pliegue latero-ventral en el tercio apical (Figs. 13, 14) . . . . . . . . . . . . . . . . . . . . . . . . . . . . . . . . . . . . . . . . . . . . . . . . . . . . . . . . . . . . . . . . . . . . . . . . . . . . . . . . . . . . . . . . . Dampfomyia delpozoi
10 (8a). Gonostilo con la seda espiniforme mediana insertada en la parte media del artejo. Longitud del gonocoxito + gonostilo menor que la longitud del lóbulo epandrial (Fig. 16). . . . . . . . . . . . . . . . . . . . . . . . . . . . . . . . . . . . . . . . . . . . . . . . . . . . . . . . . . . . . . . . . . . . . . . . Dampfomyia (Coromyia) steatopyga
10a. Gonostilo con la seda espiniforme mediana insertada en el tercio distal del artejo. Longitud del gonocoxito + gonostilo ligeramente mayor que la longitud del lóbulo epandrial (Figs. 17, 18) . . . . . . . . . . . . . . . . . . . . . . . . . . . . . . . . . . . . . . . . . . . . . . . . . . . . . . . . . . . . . . . . . . . . . . . . . . . . . . . . . . . . . . . . 11
11 (10a). Lóbulo epandrial mayor de 6.0 veces su anchura máxima (Fig. 17), . . . . . . . . . . . . . . . . . . . . . . . . . . . . . . . . . . . . . . . . . . . . . . . . . . . . . . . . . . . . . . . . . . . . . . . . . . . . . Dampfomyia (Coromyia) beltrani
11a. Lóbulo epandrial menor de 6.0 veces su anchura máxima (Fig. 18). . . . . . . . . . . . . . . . . . . . . . . . . . . . . . . . . . . . . . . . . . . . . . . . . . . . . . . . . . . . . . . . . . . . . . . . . . . . . . . . . . . Dampfomyia (Coromyia) disneyi
12 (7a). Gonostilo simple, con 2-3 sedas espiniformes (como en las Figs. 19, 21, 23). . . . . . . . . . . 13
12a. Gonostilo simple o bifurcado, con 4-8 sedas espiniformes (como en las Figs. 32, 61) . . . . . . . 18
13 (12). Gonocoxito con mechón basal de sedas sencillas gruesas y curvas en hilera diagonal (mbg); gonostilo con tres sedas espiniformes: una terminal y otra preapical robustas, otra cerca de la parte media comparativamente más fina y una seda terminal delicada (Fig. 19); parámero simple, ancho en el tercio distal, con sedas en la mitad distal (Figs. 19, 20). . . . . . . . . . . . . . . . . . . . . . . . . . . . . . . . . . . . . . . . . . . . . . . . . . . . . . . . . . . . . . . . . . . . . . . . . . . . . . . . . . . . . . . . . . . . . . . Pintomyia (Pifanomyia) serrana
13a. Gonocoxito sin mechón basal de sedas; parámero con brazo dorsal (como en las Figs. 21, 23); otras características variables. . . . . . . . . . . . . . . . . . . . . . . . . . . . . . . . . . . . . . . . . . . . . . . . . . . . . . . . . . . . 14
14 (13a). Parámero bifurcado en el ápice, la rama ventral digitiforme recta y la rama dorsal capitada, con un brazo dorsobasal arqueado, corto y con tres sedas (dos apicales y una preapical) (Figs. 21, 22). . . . . . . . . . . . . . . . . . . . . . . . . . . . . . . . . . . . . . . . . . . . . . . . . . Dampfomyia (Dampfomyia) leohidalgoi
14a. Parámero sencillo en el ápice, con brazo dorsal corto (Fig. 24) o largo (Fig. 26). . . . . . . . . . . . 15
15 (14a). Parámero con brazo dorsal corto y capitado, con sedas de punta curva a lo largo del margen y un grupo en la base del ensanchamiento (Figs. 23, 24). . . . . . . . . . . . . . . . . . . . . . . . . . . . . . . . . . . . . . . . . . . . . . . . . . . . . . . . . . . . . . . . . . . . . . . . . . . . . . . . . Dampfomyia (Dampfomyia) anthophora
15a. Parámero con brazo dorsal largo y delgado (como en las Figs. 25, 26, 27). . . . . . . . . . . . . . . . . 16
16 (15a). Parámero con proyección angulada ventral (Figs. 26, 27). Conductos edeagales con los ápices no ensanchados ni modificados . . . . . . . . . . . . . . . . . . . . . . . . . . . . . . . . . . . . . . . . . . . . . . . . . . . 17
16a. Parámero sin proyección angulada ventral; el brazo dorsal capitado. Conductos edeagales con los ápices ensanchados y modificados (Fig. 25). . . . . . . . . . . . . Dampfomyia (Dampfomyia) permira
17 (16). Parámero con el ápice capitado; brazo dorsal con las sedas largas insertadas en casi toda su longitud (Fig. 26). . . . . . . . . . . . . . . . . . . . . . . . . . . . . . . . . . . . . Dampfomyia (Dampfomyia) dodgei
17a. Parámero con el ápice delgado, no capitado; brazo dorsal con las sedas insertadas sólo en la mitad distal (Fig. 27) . . . . . . . . . . . . . . . . . . . . . . . . . . . . . . . . . . . . Dampfomyia (Dampfomyia) atulapai
18 (12a). Gonostilo con cuatro sedas espiniformes (como en las Figs. 41, 43, 45). . . . . . . . . . . . . . 19
18a. Gonostilo con cinco o seis sedas espiniformes (como en las Figs. 70, 71, 73 74). . . . . . . . . . . . 37
19 (18). Ascoides simples, sin espolón ni espina proximal (como en la Fig. 29) . . . . . . . . . . . . . . . . 20
19a. Ascoides complejos, con espolón corto (como en las Fig. 46, 49, 51) o espina proximal larga (como en las Figs. 55, 56). . . . . . . . . . . . . . . . . . . . . . . . . . . . . . . . . . . . . . . . . . . . . . . . . . . . . . . . . . . . . . . 30
20 (19). Segmento 5 del palpo menor que la longitud del 3+4 combinados (Fig. 28); el segmento 4 del palpo mucho más corto que 0.5 la longitud del segmento 3 . . . . . . . . . . . . . . . . . . . . . . . . . . . 21
20a. Segmento 5 del palpo tanto o más largo que la longitud del 3+4 combinados (como en la Fig. 34); el segmento 4 del palpo tan largo como 0.5 o más que la longitud del segmento 3. . . . . . . . 22
21 (20). Escudo con la mitad anterior oscuro al igual que el pronoto, la mitad posterior y el escudete claros (Fig. 31). Gonostilo con el par de sedas espiniformes proximales dentro de la mitad apical del artejo (Fig. 30). . . . . . . . . . . . . . . . . . . . . . . . . . . . . . . . . . . . . . . . . . . . . . . . . . . . . Bichromomyia olmeca
21a. Escudo totalmente oscuro, el escudete puede ser un poco claro. Gonostilo con el par de sedas espiniformes proximales originadas en la parte media del artejo (Fig. 32). . . . . . . . . . . . . . . . . . . . . . . . . . . . . . . . . . . . . . . . . . . . . . . . . . . . . . . . . . . . . . . . . . . . . . . . . . . . . . . . . . . . . . . . . . Nyssomyia ylephiletor
22 (20a). Parámero con dos ramas en el ápice, una casi recta y la otra doblada sobre sí misma, además de un brazo dorsobasal que presenta el ápice capitado y curvo del cual se originan sedas robustas (Fig. 33). . . . . . . . . . . . . . . . . . . . . . . . . . . . . . . . . . . . . . . . . . . . . . . . . . Trichopygomyia triramula
22a. Parámero con una sola rama en el ápice. . . . . . . . . . . . . . . . . . . . . . . . . . . . . . . . . . . . . . . . . . . . . . 23
23 (22a). Parámero complejo, con el ápice truncado y formando dos ángulos, adicionalmente con una proyección angular ventral cerca de la parte media y un par de sedas aisladas cortas en la parte media del margen dorsal. Gonostilo con seda terminal delicada (Fig. 35). . . . . . . . . . . . . . . . . . . . . . . . . . . . . . . . . . . . . . . . . . . . . . . . . . . . . . . . . . . . . . . . . . . . . . . . . . . . . . . . . . . . . . . . . . . Dampfomyia inusitata
23a. Parámero sencillo, con el ápice redondeado y sin sedas aisladas en el margen dorsal cerca de la parte media. Gonostilo con o sin seda terminal delicada (como en la Fig. 36) . . . . . . . . . . . . . . . 24
24 (23a). Gonocoxito con mechón basal (Figs. 37, 38, 39). . . . . . . . . . . . . . . . . . . . . . . . . . . . . . . . . . . 25
24a. Gonocoxito sin mechón basal (Fig. 36). . . . . . . Micropygomyia (Micropygomyia) cayennensis
25 (24). Gonocoxito con el mechón basal presentando los alvéolos en un grupo cuya forma asemeja una mora; gonostilo sin seda terminal delicada (como en la Fig. 41). . . . . . . . . . . . . . . . . . 28
25a. Gonocoxito con el mechón basal presentando los alvéolos dispuestos en forma diferente; gonostilo con seda terminal delicada (como en las Figs. 37, 38, 39) . . . . . . . . . . . . . . . . . . . . . . . . . . 26
26 (25a). Gonocoxito con las inserciones de las sedas del mechón basal en grupo circular compacto; fórmula del gonostilo 2+ 1+1; parámero con sedas dorsales en el quinto apical, su ápice romo con ligero ensanchamiento en el extremo distal (Fig. 37). . . . . . . . . . . . . . . . . . . . . . . . . . . . . . . . . . . . . . . . . . . . . . . . . . . . . . . . . . . . . . . . . . . . . . . . . . . . . . . . . . . . . . . . . . Pintomyia (Pifanomyia) ovallesi
26a. Gonocoxito con las inserciones de las sedas del mechón basal en hilera recta; fórmula del gonostilo 1+1+1+1; otras características diferentes (Figs. 38, 39) . . . . . . . . . . . . . . . . . . . . . . . . . . . . 27
27 (26a). Parámero con el margen dorsal casi recto con el ápice aguzado, con sedas dorsales en el tercio apical (Fig. 38) . . . . . . . . . . . . . . . . . . . . . . . . . . . . . . . . . . . . . . . . . Pintomyia (Pifanomyia) evansi
27a. Parámero fuertemente arqueado con el ápice redondeado y ensanchado, con dos sedas robustas y un grupo de sedas delicadas en el extremo apical, la porción media desnuda y sedas delicadas dispersas en la base (Fig. 39). . . . . . . . . . . . . . . . . . . . . . . . . . . Pintomyia (Pifanomyia) itza
28 (25). Pleura clara en su totalidad; escudo pigmentado en su totalidad (Fig. 40). Gonocoxito con el mechón basal formado por 20 ó menos sedas (Fig. 41) . . . . . Lutzomyia (Tricholateralis) gomezi
28a. Pleura con al menos el paraterguito pigmentado (como en las Figs. 42, 44); otras características variables . . . . . . . . . . . . . . . . . . . . . . . . . . . . . . . . . . . . . . . . . . . . . . . . . . . . . . . . . . . . . . . . . . . . . . . . . . . . . . 29
29 (28a). Escudo, pronoto y paraterguito pigmentados, el resto de la pleura clara (Fig. 42). Gonocoxito con el mechón basal compuesto por más de 12 de sedas (Fig. 43). . . . . . . . . . . . . . . . . . . . . . . . . . . . . . . . . . . . . . . . . . . . . . . . . . . . . . . . . . . . . . . . . . . . . . . . . . . Lutzomyia (Tricholateralis) cruciata
29a. Escudo, pronoto, paraterguito y anepisternón pigmentados (Fig. 44). Gonocoxito con el mechón basal compuesto por menos de 10 de sedas (Fig. 45). . . . . . . . . . . . . . . . . . . . . . . . . . . . . . . . . . . . . . . . . . . . . . . . . . . . . . . . . . . . . . . . . . . . . . . . . . . . . . . . . . . . . . . Lutzomyia (Tricholateralis) diabolica
30 (19a). Gonocoxito con mechón de sedas perennes, sea a manera de mechón basal (Fig. 52), mechón medio o mechón apical (Fig. 48), o bien como sedas dispersas (Fig. 50). . . . . . . . . . . . . . . 31
30a. Gonocoxito sin mechón de sedas perennes, aunque puede haber muy pocas y dispersas (como en las Figs. 57, 59). . . . . . . . . . . . . . . . . . . . . . . . . . . . . . . . . . . . . . . . . . . . . . . . . . . . . . . . . . . . . . . . . . . . . . 34
31 (30). Parámero simple, sin sedas especializadas (Figs. 48, 50). Gonocoxito con sedas perennes dispersas en la mitad apical (Fig. 48) o formando un grupo laxo en la parte media (Fig. 50); gonostilo sin seda terminal delicada. Ascoides con espolón proximal corto (Figs. 46, 49). . . . . . . . . . . . . . . . 32
31a. Parámero complejo, con sedas especializadas (como en la Fig. 53); Gonocoxito con sedas perennes en grupos compactos con posición variable; Gonostilo con o sin seda terminal delicada. Ascoides con espolón corto (Fig. 51) o largo (Figs. 55, 56). . . . . . . . . . . . . . . . . . . . . . . . . . . . . . . . . . . 33
32 (31). Gonostilo con la seda espiniforme preapical originada muy cerca de la seda apical (Fig. 48). Conductos edeagales con el ápice modificado a manera de cuchara y curvo como gancho (Fig. 47). . . . . . . . . . . . . . . . . . . . . . . . . . . . . . . . . . . . . . . . . . . . . . . . . . Psathyromyia (Forattiniella) carpenteri
32a. Gonostilo con la seda espiniforme preapical originada a la mitad de la distancia entre la seda apical y la basal más cercana (Fig. 50). Conductos edeagales con el ápice sencillo. . . . . . . . . . . . . . . . . . . . . . . . . . . . . . . . . . . . . . . . . . . . . . . . . . . . . . . . . . . . . . . . . . . . . . . Psathyromyia (Forattiniella) texana
33 (31a). Parámero con dos sedas largas y robustas con ápice curvo a manera de gancho que se originan en la parte media del margen dorsal (Figs. 52, 53); gonostilo con seda delicada terminal; gonocoxito con mechón basal de sedas simples (Fig. 52). Ascoides con espolón corto (Fig. 51). . . . . . . . . . . . . . . . . . . . . . . . . . . . . . . . . . . . . . . . . . . . . . . . . . . . . . . . . . . . . . . Lutzomyia (Lutzomyia) longipalpis
33a. Parámero con gran cantidad de sedas modificadas que se originan de un tubérculo dorsal; gonostilo sin seda delicada terminal; gonocoxito con mechón medio y mechón distal, el primero con sedas modificadas (Fig. 54). Ascoides con rama proximal larga (Fig. 55). . . . . . . . . . . . . . . . . . . . . . . . . . . . . . . . . . . . . . . . . . . . . . . . . . . . . . . . . . . . . . . . . . . . Psathyromyia (Xyphopsathyromyia) aclydifera
34 (30a). Parámero simple, sin sedas modificadas, sin brazo dorsal, sin joroba dorsal y con el ápice delgado y redondeado (Fig. 57). . . . . . . . . . . . . . . . . . . . . . . . Psathyromyia (Psathyromyia) shannoni
34a. Parámero complejo, con sedas modificadas (Fig. 60), con brazo dorsal (Fig. 58), con joroba dorsal o con el ápice grueso (Fig. 59). . . . . . . . . . . . . . . . . . . . . . . . . . . . . . . . . . . . . . . . . . . . . . . . . . . . . . 35
35 (34a). Parámero con brazo dorsal corto setífero, menos saliente que la joroba basal y con un gancho retrógrado en el tercio apical (Fig. 58). . . . . . . . . . Psathyromyia (Psathyromyia) dasymera
35a. Parámero sin brazo dorsal y ápice sin gancho retrógrado. . . . . . . . . . . . . . . . . . . . . . . . . . . . . . . 36
36 (35a). Parámero con la porción apical gruesa, con sedas largas y delgadas en el margen dorsal, cortos y unguiformes en el margen distal y cortos delgados en el margen ventral (Fig. 59). . . . . . . . . . . . . . . . . . . . . . . . . . . . . . . . . . . . . . . . . . . . . . . . . . . . . . . . . . . . . . Psathyromyia (Psathyromyia) cratifer
36a. Parámero con la porción apical delgada, con sedas onduladas en los 0.25 distales (Fig. 60). . . . . . . . . . . . . . . . . . . . . . . . . . . . . . . . . . . . . . . . . . . . . . . . . . . . . . . Psathyromyia (Psathyromyia) undulata
37 (18a). Gonostilo con seis sedas espiniformes dispuestas de la siguiente manera: una proximal aislada, dos medianas, una en el tercio apical y dos terminales (1+2+ 1+2); gonocoxito con mechón basal formado por numerosas sedas lanceoladas fuertes (Fig. 61). . . . . . . . . . . . . . Lutzomyia vargasi
37a. Gonostilo con cinco sedas espiniformes dispuestas en forma variable; gonocoxito con o sin mechón basal. . . . . . . . . . . . . . . . . . . . . . . . . . . . . . . . . . . . . . . . . . . . . . . . . . . . . . . . . . . . . . . . . . . . . . . . . 38
38 (37a). Gonocoxito con mechón basal de sedas, aunque éste puede ser laxo compuesto por sedas sencillas y delgadas similares a las sedas perennes de la porción apical interna del artejo (Figs. 62, 65). . . . . . . . . . . . . . . . . . . . . . . . . . . . . . . . . . . . . . . . . . . . . . . . . . . . . . . . . . . . . . . . . . . . . . . . . . . . . . . . 39
38a. Gonocoxito sin mechón basal de sedas, con o sin sedas perennes delicadas en la porción apical de la cara interna del artejo (Figs.77, 79, 82). . . . . . . . . . . . . . . . . . . . . . . . . . . . . . . . . . . . . . . . . . . . . . . . 47
39 (38). Gonostilo con un par de sedas espiniformes proximales insertadas al mismo nivel, por lo que la fórmula del gonostilo es 2+1+2 (Figs. 65, 67, 69). . . . . . . . . . . . . . . . . . . . . . . . . . . . . . . . . . . . 40
39a. Gonostilo con las sedas espiniformes proximales insertadas a diferente nivel, por lo que la fórmula del gonostilo es 1+l+1+2 (como en las Figs.70, 71, 73). . . . . . . . . . . . . . . . . . . . . . . . . . . . . . 43
40 (39). Conductos edeagales con los ápices simples y delgados; terminalia como en la Fig. 62. . . . . . . . . . . . . . . . . . . . . . . . . . . . . . . . . . . . . . . . . . . . . . . . . . . Micropygomyia (Coquillettimyia) chiapanensis
40a. Conductos eyaculadores con ápices ensanchados en forma lanceolada (Fig. 64, 66, 68) . . . . 41
41 (40a). Parámero complejo, con un engrosamiento medio y una proyección angulada ventral en el quinto distal (Fig. 63) . . . . . . . . . . . . . . . . . . . . . . . . . . . Micropygomyia (Coquillettimyia) vindicator
41a. Parámero sencillo, delgado, sin tubérculo angular ventral (Figs. 65, 67) . . . . . . . . . . . . . . . . . . 42
42 (41a). Cibario con hilera de alrededor de 8 dientes posteriores cortos; gonocoxito con mechón basal de 10-15 sedas (Fig. 65); conductos edeagales con el ápice después del ensanchamiento tan largo como la porción ensanchada (Fig. 66) . . . . . . . Micropygomyia (Coquillettimyia) californica
42a. Cibario sin dientes; gonocoxito con mechón basal formado por 4-7 sedas; otras características variables; parámero con sedas sobre la mitad distal; lóbulo epandrial apenas sobrepasando el ápice del parámero y tan largo como 0.66 la longitud del gonocoxito; conductos edeagales con el ápice después del ensanchamiento más corto que la porción ensanchada (Fig. 67). . . . . . . . . . . . . . . . . . . . . . . . . . . . . . . . . . . . . . . . . . . . . . . . . . . . . . . . . . . . . . . . . . . . . . . Micropygomyia (Coquillettimyia) stewarti
43 (39a). Conductos edeagales sencillos, no ensanchados apicalmente. Gonocoxito con un mechón basal de no más de cuatro sedas y no mucho más largas que la anchura del gonocoxito a nivel de su inserción. . . . . . . . . . . . . . . . . . . . . . . . . . . . . . . . . . . . . . . . . . . . . . . . . . . . . . . . . . . . . . . . . . . . . . . . . . . . 44
43a. Conductos edeagales con el ápice lanceolado (como en las Figs.72, 73, 76). . . . . . . . . . . . . . . 45
44 (43). Gonocoxito con un mechón basal de cuatro sedas insertadas al final de una línea diagonal esclerotizada y varias sedas en grupo laxo en la parte terminal del artejo (Fig. 69). . . . . . . . . . . . . . . .
. . . . . . . . . . . . . . . . . . . . . . . . . . . . . . . . . . . . . . . . . . . . . . . . . . Micropygomyia (Coquillettimyia) nahua
44a. Gonocoxito con un mechón basal de dos o tres sedas que no son más largas que la anchura del gonocoxito a nivel de su inserción, y tres sedas separadas entre sí a lo largo de los dos tercios distales del gonocoxito, la seda ventral muy larga y delgada (Fig. 70). . . . . . . . . . . . . . . . . . . . . . . . . . . . . . . . . . . . . . . . . . . . . . . . . . . . . . . . . . . . . . . . . . . . . . . . . . . . . . Lutzomyia (Helcocyrtomyia) hartmanni
45 (43a). Extremo de los conductos edeagales filiforme más corto que la longitud del ensanchamiento (Fig. 72); parámero delgado, tan largo corno 2/3 la longitud del lóbulo epandrial (Fig. 71) . . . . . . . . . . . . . . . . . . . . . . . . . . . . . . . . . . . . . . . . . Micropygomyia (Coquillettimyia) oppidana
45a. Conductos edeagales con el ápice lanceolado, su extremo filiforme más largo que la longitud del ensanchamiento; parámero diferente (Figs. 73, 75, 77). . . . . . . . . . . . . . . . . . . . . . . . . . . . . . . . . . 46
46(45a). Conductos edeagales cortos, aproximadamente 3.5 veces la longitud del saco espermático y apodema eyaculador combinados (Fig. 73); ascoides cortos sin alcanzar el borde distal del flagelómero que le da origen (véase preferentemente el flagelómero II). . . . . . . . . . . . . . . . . . . . . . . . . . . . . . . . . . . . . . . . . . . . . . . . . . . . . . . . . . . . . . . . . . . . . . . . . Micropygomyia (Coquillettimyia) vexator
46a. Conductos edeagales largos, alrededor de 4.5 veces la longitud del saco espermático y apodema eyaculador combinados (Figs. 75, 76); ascoides largos, sobrepasando el borde distal del flagelómero que le da origen (véase preferentemente el flagelómero II). . . . . . . . . . . . . . . . . . . . . . . . . . . . . . . . . . . . . . . . . . . . . . . . . . . . . . . . . . . . . . . . . . . . . . . . . Micropygomyia (Coquillettimyia) apache
47 (38a). Conductos edeagales con los ápices ensanchados, con forma lanceolada (Fig.78); terminalia como en la Fig. 77 . . . . . . . . . . . . . . . . . . . . . . . Micropygomyia (Micropygomyia) durani
47a. Conductos edeagales con los ápices sencillos y delgados . . . . . . . . . . . . . . . . . . . . . . . . . . . . . . .48
48 (47a). Conductos edeagales tan largos o más lagos que 3.0 veces la longitud del saco espermático y apodema eyaculador combinados, los ápices truncados (Fig. 80); terminalia como en la Fig. 79. Ala con δ positiva (Fig. 81). . . . . . . . . . . . . . . . . . . Micropygomyia (Sauromyia) trinidadensis
48a. Conductos eyaculadores con menos de 2. 7 la longitud del saco espermático y apodema eyaculador combinados; terminalia como en la Fig. 82. Ala con δ igual o cercana a cero, i.e., la R1 terminando al nivel de la ramificación de R2 y R3 o apenas sobrepasándola. . . . . . . . . . . . . . . . . . . . . . . . . . . . . . . . . . . . . . . . . . . . . . . . . . . . . . . . . . . . . . . . . . . . . . . . . . . . Micropygomyia (Sauromyia) pratti

Lámina 1 Macho. Brumptomyia mesai : 1) Parámero, vista lateral; 2) Seda del mechón basal del gonocoxito; 3) Terminalia, vista lateral (redibujados de Ibáñez-Bernal, 1999). Brumptomyia hamata : 4) Terminalia, vista lateral (redibujado de Ibáñez-Bernal, 1999). Psychodopygus panamensis : 5) Parámero, vista lateral; 6) Terminalia, vista lateral (redibujados de Ibáñez-Bernal, 2003). Escalas en milímetros.

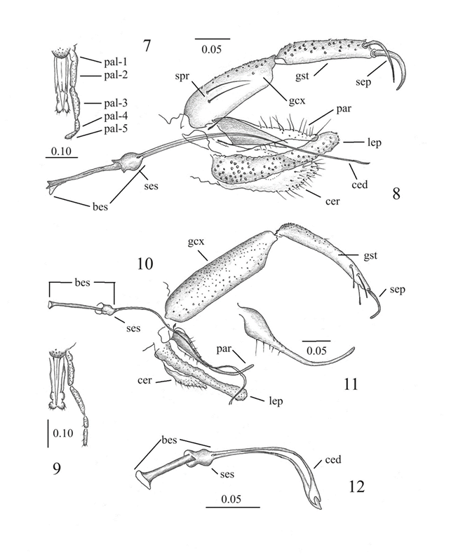
Lámina 2 Macho. Psychodopygus bispinosus : 7) Detalle de probóscide y palpo, vista frontal; 8) Terminalia, vista lateral (redibujados de Ibáñez-Bernal et al., 2015). Psychodopygus corossoniensis : 9) Detalle de probóscide y palpo, vista frontal; 10) Terminalia, vista lateral; 11) Parámero (redibujados de Ibáñez-Bernal et al., 2015). Dampfomyia caminoi : 12) Conductos edeagales (redibujado de Young & Duncan, 1994). Escalas en milímetros.

Lámina 3 Macho. Dampfomyia delpozoi : 13) Terminalia, vista lateral (conductos edeagales no dibujados); 14) Parámero, vista lateral. Dampfomyia deleoni: 15) Terminalia, vista lateral (conductos edeagales no dibujados) (redibujados de Ibáñez-Bernal, 2001a). Dampfomyia steatopyga : 16) Terminalia, vista lateral (conductos edeagales no dibujados) (redibujado de Fairchild & Hertig, 1958). Dampfomyia beltrani : 17) Terminalia, vista lateral (conductos edeagales no dibujados) (redibujado de Ibáñez-Bernal, 2001a). Dampfomyia disneyi : 18) Terminalia, vista lateral (conductos edeagales no dibujados) (Redibujado de Ibáñez-Bernal et al., 2015). Escalas en milímetros.

Lámina 4 Macho. Pintomyia serrana : 19) Terminalia, vista lateral (conductos edeagales no dibujados); 20) Parámero, vista lateral (redibujado de Ibáñez-Bernal, 1999). Dampfomyia leohidalgoi : 21) Terminalia, vista lateral (conductos edeagales no dibujados); 22) Parámero, vista lateral (Redibujado de Ibáñez-Bernal et al., 2006). Dampfomyia anthophora : 23) Terminalia, vista lateral (conductos edeagales no dibujados); 24) Parámero, vista lateral (redibujado de Fairchild & Hertig, 1956). Escalas en milímetros.

Lámina 5 Macho. Dampfomyia permira : 25) Terminalia, vista lateral (redibujado de Lewis & Garham, 1959). Dampfomyia dodgei : 26) Parámero, vista lateral (redibujado de Ibáñez-Bernal, 2001a). Dampfomyia atulapai : 27) Parámero, vista lateral (redibujado de Young & Duncan, 1994). Bichromomyia olmeca olmeca : 28) Cabeza, vista frontal (antena izquierda y palpo derecho no dibujados); 29) Flagelómero II mostrando el par de ascoides; 30) Terminalia, vista lateral (conductos edeagales no dibujados); 31) Tórax, vista lateral izquierda (redibujado de Ibáñez-Bernal, 2002). Escalas en milímetros.

Lámina 6 Macho (conductos edeagales no dibujados). Nyssomyia ylephiletor : 32) Terminalia, vista lateral (redibujado de Young, 1977). Trichopygomyia triramula : 33) Terminalia, vista lateral; 34) Cabeza, vista parcial frontal mostrando el palpo derecho (dibujos originales). Dampfomyia inusitata : 35) Terminalia, vista lateral (redibujado de Young & Duncan, 1994). Micropygomyia cayennensis : 36) Terminalia, vista lateral (redibujado de Ibáñez-Bernal, 2003). Pintomyia ovallesi : 37) Terminalia, vista lateral (redibujado de Young & Duncan, 1994). Pintomyia evansi : 38) Terminalia, vista lateral (redibujado de Young & Duncan, 1994). Pintomyia itza : 39) Terminalia, vista lateral (redibujado de Ibáñez-Bernal et al., 2010). Escalas en milímetros.

Lámina 7 Macho. Lutzomyia gomezi : 40) Tórax, vista lateral izquierda; 41) Terminalia, vista lateral (conductos edeagales no dibujados) (redibujados de Ibáñez-Bernal, 1999). Lutzomyia cruciata : 42) Tórax, vista lateral izquierda; 43) Terminalia, vista lateral (conductos edeagales no dibujados) (redibujados de Ibáñez-Bernal, 1999). Lutzomyia diabolica : 44) Tórax, vista lateral izquierda; 45) Terminalia, vista lateral (conductos edeagales no dibujados) (redibujados de Ibáñez-Bernal, 1999). Escalas en milímetros.

Lámina 8 Macho. Psathyromyia carpenteri : 46) Flagelómero II, mostrando ascoides; 47) Ápices de los conductos edeagales; 48) Terminalia, vista lateral (redibujados de Ibáñez-Bernal, 2002). Psathyromyia texana : 49) Flagelómero II, mostrando ascoides; 50) Terminalia, vista lateral (redibujados de Ibáñez-Bernal, 2002). Lutzomyia longipalpis : 51) Flagelómero II, mostrando ascoides; 52) Terminalia, vista lateral (conductos edeagales no dibujados); 53) Parámero (redibujados de Ibáñez-Bernal, 1999). Escalas en milímetros.

Lámina 9 Macho. Psathyromyia aclydifera : 54) Terminalia, vista lateral (conductos edeagales no dibujados); 55) Flaglómero II, mostrando ascoides (redibujados de Young, 1977). Psathyromyia shannoni : 56) Flaglómero II, mostrando ascoides; 57) Terminalia, vista lateral (conductos edeagales no dibujados) (redibujados de Ibáñez-Bernal, 2002). Psathyromyia dasymera : 58) Parámero, vista lateral (Redibujado de Fairchild & Hertig, 1961). Psathyromyia cratifer : 59) Terminalia, vista lateral (conductos edeagales no dibujados) (redibujado de Fairchild & Hertig, 1961). Psathyromyia undulata : 60) Parámero, vista lateral (redibujado de Ibáñez-Bernal, 2002). Escalas en milímetros.

Lámina 10 Macho (conductos edeagales no dibujados). Lutzomyia vargasi : 61) Terminalia, vista lateral (redibujado de Fairchild & Hertig, 1961a. Micropygomyia chiapanensis: 62) Terminalia, vista lateral (redibujado de Ibáñez-Bernal, 2003). Micropygomyia vindicator : 63) Terminalia, vista lateral; 64) Ápice de un conducto edeagal (redibujados de Ibáñez-Bernal, 2003). Micropygomyia californica : 65) Terminalia, vista lateral; 66) Detalle del ápice de un conducto edeagal (redibujados de Young & Perkins, 1984). Micropygomyia stewarti : 67) Terminalia, vista lateral; 68) Detalle del ápice de un conducto edeagal (redibujados de Ibáñez-Bernal, 2003). Micropygomyia nahua : 69) Terminalia, vista lateral (redibujado de Ibáñez-Bernal et al., 2017). Escalas en milímetros.

Lámina 11 Macho. Lutzomyia hartmanni : 70) Terminalia, vista lateral. Micropygomyia oppidana : 71) Terminalia, vista lateral (conductos edeagales no dibujados); 72) conductos edeagales (redibujados de Ibáñez-Bernal et al., 2015). Micropygomyia vexator : 73) Terminalia, vista lateral (redibujado de Ibáñez-Bernal et al., 2003). Micropygomyia apache : 74) Terminalia, vista lateral (conductos edeagales no dibujados); 75) conductos edeagales; 76) Detalle del ápice de un conducto edeagal (redibujados de Young & Perkins, 1984). Escalas en milímetros.

Lámina 12 Macho. Micropygomyia durani : 77) Terminalia, vista lateral; 78) Detalle del ápice de los conductos edeagales. Micropygomyia trinidadensis : 79) Terminalia, vista lateral (conductos edeagales no dibujados); 80) Detalle del ápice de los conductos edeagales; 81) Ala (redibujado de Ibáñez-Bernal, 2003). Micropygomyia pratti : 82) Terminalia, vista lateral (conductos edeagales no dibujados) (redibujado de Vargas & Díaz-Nájera, 1951a). Escalas en milímetros.

Lámina 13 Hembra. Brumptomyia mesai : 83) Vista frontal y parcial de la cabeza; 84) Espermatecas (conductos espermatecales no completos); 85) Cibario (redibujados de Ibáñez-Bernal, 1999). Psychodopygus corossoniensis : 86) Espermatecas y conductos; 87) Detalle de la espermateca; 88) Cibario (redibujados de Young & Duncan, 1994). Psychodopygus panamensis : 89) Espermatecas y conductos; 90) Cibario (redibujados de Ibáñez-Bernal, 2003). Psychodopygus bispinosus : 91) Espermatecas y conductos; 92) Cibario (redibujados de Young & Duncan, 1994). Dampfomyia deleoni : 93) Espermatecas y conductos; 94) Cibario (redibujados de Ibáñez-Bernal, 2001a). Escalas en milímetros.

Lámina 14 Hembra. Dampfomyia anthophora : 95) Cibario; 96) Espermatecas y parte de conductos. Dampfomyia dodgei : 97) Cibario; 98) Espermatecas (redibujados de Ibáñez-Bernal, 2001a). Dampfomyia permira : 99) Cibario; 100) Espermatecas y conductos (redibujados de Fairchild & Hertig, 1956). Dampfomyia atulapai : 101) Cibario; 102) Espermatecas (redibujados de Young & Duncan, 1994). Dampfomyia leohidalgoi : 103) Cibario; 104) Vista lateral de un cerco; 105) Espermatecas (redibujados de Ibáñez-Bernal et al., 2006). Dampfomyia caminoi : 106) Cibario; 107) Espermatecas (redibujados de Young & Duncan, 1994). Escalas en milímetros.

Lámina 15 Hembra. Dampfomyia delpozoi : 108) Flagelómero 2; 109) Cibario; 110) Espermatecas y conductos individuales (parciales) (redibujados de Ibáñez-Bernal, 2001a). Lutzomyia manciola (incertae sedis): 111) Vista parcial de la cabeza mostrando piezas bucales y palpo; 112) Espermatecas y conductos espermatecales; 113) Cibario (redibujados de Ibáñez-Bernal, 2001b). Bichromomyia olmeca olmeca : 114) Cibario; 115) Espermatecas y conductos espermatecales (redibujados de Ibáñez-Bernal, 2002). Nyssomyia ylephiletor : 116) Cibario; 117) Espermatecas y conductos espermatecales (redibujados de Ibáñez-Bernal, 2002). Micropygomyia chiapanensis : 118) Cabeza mostrando palpos y antena (parcial); 119) Cibario; 120) Espermatecas y conductos espermatecales (redibujados de Ibáñez-Bernal, 2003). Micropygomyia californica : 121) Cibario; 122) Espermatecas y conductos espermatecales (redibujados de Young & Perkins, 1984). Escalas en milímetros.

Lámina 16 Hembra. Micropygomyia ctenidophora : 123) Faringe y cibario (redibujados de Fairchild & Hertig, 1948b). Micropygomyia durani : 124) Faringe; 125) Cibario; 126) Ala (redibujados de Ibáñez-Bernal, 2003). Micropygomyia cayennensis cayennensis : 127) Cibario (redibujado de Fairchild & Hertig, 1948b). Micropygomyia cayennensis maciasi : 128) Cibario; 129) Faringe; 130) Ala; 131) Espermatecas y conductos espermatecales (redibujados de Ibáñez-Bernal, 2003). Micropygomyia trinidadensis : 132) Cibario; 133) Faringe; 134) Espermatecas y conductos espermatecales (redibujados de Ibáñez-Bernal, 2003). Escalas en milímetros.

Lámina 17 Hembra. Micropygomyia vexator : 135) Cibario; 136) Espermatecas y conductos espermatecales (redibujados de Ibáñez-Bernal, 2003). Micropygomyia stewarti : 137) Flagelómero II mostrando ascoides; 138) Cibario; 139) Espermatecas y conductos espermatecales (redibujados de Ibáñez-Bernal, 2003). Micropygomyia vindicator : 140) Cibario; 141) Espermatecas y conductos espermatecales (Redibujados de Young & Duncan, 1994). Escalas en milímetros.

Lámina 18 Hembra. Micropygomyia oppidana : 142) Flagelómero II; 143) Cibario; 144) Espermatecas y conductos espermatecales. Micropygomyia apache : 145) Flagelómero II; 146) Cibario; 147) Espermatecas y conductos espermatecales (redibujados de Young & Perkins, 1984). Micropygomyia nahua : 148) Flagelómero 2; 149) Cibario; 150) Espermatecas y conductos espermatecales (redibujados de Ibáñez-Bernal et al., 2017). Pintomyia ovallesi : 151) Flagelómero 2; 152) Cibario; 153) Espermatecas y conductos espermatecales (redibujados de Ibáñez-Bernal, 2001a). Escalas en milímetros.

Lámina 19 Hembra. Dampfomyia beltrani : 154) Cibario; 155) Espermatecas y conductos espermatecales (redibujados de Ibáñez-Bernal, 2001a). Trichopygomyia triramula : 156) Cibario; 157) Cerco, vista lateral; 158) Espermatecas y conductos espermatecales (redibujados de Young & Duncan, 1994). Pintomyia evansi : 159) Cibario; 160) Espermatecas y conductos espermatecales (redibujados de Young & Duncan, 1994). Pintomyia serrana : 161) Cibario; 162) Espermatecas y conductos espermatecales (redibujados de Ibáñez-Bernal, 1999). Escalas en milímetros.

Lámina 20 Hembra. Lutzomyia hartmani : 163) Cibario; 164) Espermatecas y conductos espermatecales (redibujados de Young & Duncan, 1994). Lutzomyia gomezi : 165) Cibario; 166) Espermatecas y conductos espermatecales. Lutzomyia cruciata : 167) Cibario; 168) Espermatecas y conductos espermatecales. Lutzomyia diabolica : 169) Cibario; 170) Espermatecas y conductos espermatecales (redibujados de Ibáñez-Bernal, 1999). Psathyromyia maya : 171) Cibario; 172) Espermatecas y conductos espermatecales; 173) Flagelómero 2 (redibujados de Ibáñez-Bernal et al., 2010). Lutzomyia longipalpis : 174) Cibario; 175) Flagelómero 2; 176) Espermatecas y conductos espermatecales (redibujados de Ibáñez-Bernal, 1999). Escalas en milímetros.

Lámina 21 Hembra. Psathyromyia texana : 177) Flagelómero 2; 178) Cibario: 179) Ala; 180) Espermatecas y conductos espermatecales (redibujados de Ibáñez-Bernal, 2002). Psathyromyia carpenteri : 181) Cibario; 182) Ala; 183) Espermatecas y conductos espermatecales (redibujados de Young & Duncan 1994). Psathyromyia aclydifera : 184) Flagelómero 2; 185) Cibario; 186) Espermatecas y conductos espermatecales (redibujados de Fairchild & Hertig, 1952). Escalas en milímetros.

Lámina 22 Hembra. Psathyromyia undulata : 187) Cibario; 188) Espermatecas y conductos espermatecales (redibujados de Ibáñez-Bernal, 2002). Psathyromyia shannoni : 189) Cibario; 190) Espermatecas y conductos espermatecales (redibujados de Ibáñez-Bernal, 2002). Psathyromyia dasymera : 191) Cibario; 192) Espermatecas y conductos espermatecales (redibujados de Young & Duncan, 1994). Escalas en milímetros.
Hembras
Las especies de Brumptomyia no pueden identificarse mediante las características morfológicas. Las hembras de Micropygomyia (Sauromyia) pratti, Pintomyia (Pifanomyia) itza y Lutzomyia vargasi no han sido descritas.
1. Cibario con 4 hileras longitudinales de dientes anteriores en una protuberancia a manera de domo (Fig. 85). Sutura interocular completa (Fig. 83). Espermatecas como en la Fig. 84. . . . . . . . . . . . . . . . . . . . . . . . . . . . . . . . . . . . . . . . . . . . . . . . . . . . . . . . . . . . . . . . . . . . . . . . . . . . . . . . . . Brumptomyia spp.
1a. Cibario con los dientes anteriores en hilera transversal o no visibles (como en la Fig. 88 y demás figuras de cibarios). Sutura interocular casi siempre incompleta (como en la Fig. 118). . . . . . . . . . . 2
2 (1a). Palpo con el segmento 5 más corto que 0.5 la longitud del segmento 3 (como en la Fig. 7). Cibario con los dientes anteriores dispuestos en hileras longitudinales (como en las Figs. 88, 90, 92). Espermateca imbricada (como en las Figs. 87, 89, 91). . . . . . . . . . . . . . . . . . . . . . . . . . . . . . . . . . . . . . . . 3
2a. Palpo con el segmento 5 más largo que 0.5 la longitud del segmento 3 (como en la Fig. 118). Cibario con los dientes anteriores dispuestos en hileras transversales (como en la Fig. 101), diagonales (como en la Fig. 94) o no evidentes (como en la Fig. 121). Espermateca variable, pero no imbricada. . . . . . . . . . . . . . . . . . . . . . . . . . . . . . . . . . . . . . . . . . . . . . . . . . . . . . . . . . . . . . . . . . . . . . . . . . . 5
3 (2). Conductos espermatecales individuales casi tan largos como 2.0 de la longitud de las espermatecas, pero 0.3 tan largos como el conducto espermatecal común incluyendo la porción no estriada (Fig. 86); espermateca con el capítulo en línea con su eje longitudinal (Fig. 87). Cibario como en la Fig. 88. . . . . . . . . . . . . . . . . . . . . . . . . . . . . . . . . . . . . . . . . . . . . . . Psychodopygus corossoniensis
3a. Conductos espermatecales individuales más cortos que 2.0 de la longitud de las espermatecas (como en las Figs. 89, 91); espermateca con el capítulo diagonal con respecto al eje longitudinal (Figs. 89, 91). . . . . . . . . . . . . . . . . . . . . . . . . . . . . . . . . . . . . . . . . . . . . . . . . . . . . . . . . . . . . . . . . . . . . . . . . . . . 4
4 (3a). Espermateca menor que 0.4 la longitud del conducto espermatecal común, este último con la mitad basal no estriada (Fig. 89). Cibario como en la fig. 90. . . . . . . . . Psychodopygus panamensis
4a. Espermateca aproximadamente tan larga como 0.5 de la longitud del conducto espermatecal común, este último con la porción basal no estriada ocupando solo 0.2 de su longitud total (Fig. 91). Cibario como en la Fig. 92. . . . . . . . . . . . . . . . . . . . . . . . . . . . . . . . . . . Psychodopygus bispinosus
5 (2a). Espermateca con una bolsa membranosa grande asociada, sutilmente estriada y a manera de tubo, con capítelo muy largo (Fig. 93). Cibario con 4 dientes posteriores dispuestos a manera de diadema y dientes anteriores en 1+1 hileras diagonales laterales (Fig. 94). . . . . . . . . . . . . . . . . . . . . . . . . . . . . . . . . . . . . . . . . . . . . . . . . . . . . . . . . . . . . . . . . . . . . . . . . . . . . . . Dampfomyia (Coromyia) deleoni
5a. Espermateca sin bolsa membranosa grande asociada. Cibario con dientes en número y disposición diferente. . . . . . . . . . . . . . . . . . . . . . . . . . . . . . . . . . . . . . . . . . . . . . . . . . . . . . . . . . . . . . . . . . . . 6
6 (5a). Espermatecas de tipo morular, i.e., con varios glóbulos o proyecciones digitiformes membranosos traslúcidos (como en las Figs. 96, 98, 100, 102). . . . . . . . . . . . . . . . . . . . . . . . . . . . . . . . 7
6a. Espermatecas con aspecto diferente, i.e., sin varios glóbulos o proyecciones digitiformes membranosos traslúcidos. . . . . . . . . . . . . . . . . . . . . . . . . . . . . . . . . . . . . . . . . . . . . . . . . . . . . . . . . . . . . . . 10
7 (6). Cibario con 2 dientes posteriores laminares (Figs. 95, 97). Conductos espermatecales individuales al menos tan largos como la espermateca (Figs. 96, 98). . . . . . . . . . . . . . . . . . . . . . . . . . . . . . . . . . . . . . . . . . . . . . . . . . . . . . . . . . . . . . . . . . . . . . . . . . . . . Dampfomyia (Dampfomyia) anthophora Dampfomyia (Dampfomyia) dodgei
7a. Cibario con 4-11 dientes posteriores triangulares (como en las Figs. 99, 101, 103). . . . . . . . . . . 8
8 (7a). Conductos espermatecales individuales extremadamente cortos, casi inexistentes (Fig. 100). . . . . . . . . . . . . . . . . . . . . . . . . . . . . . . . . . . . . . . . . . . . . . . . . . . . . . . . Dampfomyia (Dampfomyia) permira
8a. Conductos espermatecales individuales al menos tan largos como 0.5 la longitud de las espermateca (Figs. 102, 105). . . . . . . . . . . . . . . . . . . . . . . . . . . . . . . . . . . . . . . . . . . . . . . . . . . . . . . . . . . . . . 9
9 (8a). Espermateca con las proyecciones globulares (Fig. 102). Cibario con una hilera de alrededor de 4 dientes posteriores, cada uno con forma triangular y sin proyección apical filiforme, 4 dientes anteriores y un grupo de dientes laterales numerosos y muy pequeños (Fig. 101). Cerco ancho, proyección distal triangular. . . . . . . . . . . . . . . . . . . . . . . . . . . . . . Dampfomyia (Dampfomyia) atulapai
9a. Espermateca con proyecciones apicales digitiformes (Fig. 105). Cibario con una hilera de alrededor de 12 dientes posteriores, cada uno con forma triangular y con una proyección apical filiforme, 6 dientes anteriores y un grupo de dientes laterales numerosos y muy pequeños (Fig. 103). Cerco con proyección distal delgada, digitiforme (Fig. 104). . . . . . . . . . . . . . . . . . . . . . . . . . . . . . . . . . . . . . . . . . . . . . . . . . . . . . . . . . . . . . . . . . . . . . . . . . . . . . . . . . . . . Dampfomyia (Dampfomyia) leohidalgoi
10 (6a). Conductos espermatecales individuales tan anchos como la espermateca; espermateca globular estriada con capítulo digitiforme muy largo (Fig. 107). Cibario con 6 dientes posteriores, varias hileras transversales de dientes anteriores y dientes laterales casi tan largos como los posteriores (Fig. 106). . . . . . . . . . . . . . . . . . . . . . . . . . . . . . . . . . . . . . . . . . . . . . . . . . . Dampfomyia caminoi
10a. Conductos espermatecales individuales nunca tan anchos como la espermateca. Espermateca diferente. Cibario variable, pero los dientes laterales, si están presentes, nunca tan largos como los dientes posteriores. . . . . . . . . . . . . . . . . . . . . . . . . . . . . . . . . . . . . . . . . . . . . . . . . . . . . . . . . . . . . . . . . . . . . 11
11 (10a). Flagelómeros con los ascoides simples, cada uno con una sola rama dirigida apicalmente (como en la Fig. 108). . . . . . . . . . . . . . . . . . . . . . . . . . . . . . . . . . . . . . . . . . . . . . . . . . . . . . . . . . . . . . . . . . . 12
11a. Flagelómeros presentando ascoides con espolón corto (como en la Fig. 173) o rama larga dirigida hacia la parte basal en adición a la rama larga dirigida hacia el ápice (como en la Fig. 184). . . . . . . . . . . . . . . . . . . . . . . . . . . . . . . . . . . . . . . . . . . . . . . . . . . . . . . . . . . . . . . . . . . . . . . . . . . . . . . . . . . . . . . . 38
12 (11). Cibario con 2 dientes posteriores laminares, 1+1 hileras diagonales de dientes anteriores y presencia de dientes laterales (como en la Fig. 109). Espermateca casi globular y estriada, con capítelo alargado insertado profundamente (Fig. 110). . . . . . . . . . . . . . . . . . . . . Dampfomyia delpozoi Dampfomyia inusitata
12a. Cibario con al menos 4 dientes posteriores. Otras características variables. . . . . . . . . . . . . . . . 13
13 (12a). Palpo con el segmento 5 más corto que la suma de los segmentos 3+4 (como en la Fig. 111). Cibario con los dientes anteriores formando hileras longitudinales o dispersos (como en la Fig. 113). . . . . . . . . . . . . . . . . . . . . . . . . . . . . . . . . . . . . . . . . . . . . . . . . . . . . . . . . . . . . . . . . . . . . . . . . . . . . . . 14
13a. Palpo con el segmento 5 tan largo o más largo que la suma de los segmentos 3+4 (como en la Fig. 118). Cibario con los dientes anteriores discretos y sin formar hileras longitudinales (como en la Fig. 128). . . . . . . . . . . . . . . . . . .. . . . . . . . . . . . . . . . . . . . . . . . . . . . . . . . . . . . . . . . . . . . . . . . . . . . . . . . 17
14 (13). Cibario con los dientes anteriores dispersos, nunca dispuestos en hilera transversal (Fig. 113). Espermateca, conductos espermatecales individuales y común estriados en su totalidad; espermateca con el capítelo en forma de manopla; conducto espermatecal común ligeramente más corto o tan largo como la espermateca; conductos espermatecales individuales 5.0 veces la longitud del conducto espermatecal común (Fig. 112). . . . . . . . . . . . . . . . . . . . . . . . . . . . . . . Lutzomyia manciola
14a. Sin la combinación de características mencionadas. . . . . . . . . . . . . . . . . . . . . . . . . . . . . . . . . . . . . 15
15. Cibario con varias hileras transversales de dientes anteriores grandes que por su disposición parecen formar hileras longitudinales (como en las Figs. 114, 116). . . . . . . . . . . . . . . . . . . . . . . . . . . . 16
15a. Cibario con los dientes anteriores dispuestos de forma diferente, sin formar hileras longitudinales. . . . . . . . . . . . . . . . . . . . . . . . . . . . . . . . . . . . . . . . . . . . . . . . . . . . . . . . . . . . . . . . . . . . . . . . . . 17
16 (15). Conductos espermatecales individuales tan largos como la espermateca y conducto espermatecal común tan largo como 3.0 veces la longitud de la espermateca (sin considerar el capítelo) (Fig. 115). . . . . . . . . . . . . . . . . . . . . . . . . . . . . . . . . . . . . . . . . . . . . Bichromomyia olmeca olmeca
16a. Conductos espermatecales individuales tan largos como 3.0 veces la longitud de la espermateca y conducto espermatecal común tan largo como 0.25 la longitud de la espermateca (sin considerar el capítelo) (Fig. 117). . . . . . . . . . . . . . . . . . . . . . . . . . . . . . . . . . . . . Nyssomyia ylephiletor
17 (15a). Cibario con más de 10 dientes posteriores dispuestos en empalizada (muy juntos entre sí) (Figs. 119, 121). . . . . . . . . . . . . . . . . . . . . . . . . . . . . . . . . . . . . . . . . . . . . . . . . . . . . . . . . . . . . . . . . . . . . . . .18
17a. Cibario con 4 a 7 dientes posteriores espaciados entre sí, de los cuales uno en la parte media puede verse desplazado fuera de la hilera principal (Figs. 138, 149). . . . . . . . . . . . . . . . . . . . . . . . . . . 23
18 (17). Faringe con espinas conspicuas en la porción distal (Fig. 129). . . . . . . . . . . . . . . . . . . . . . . . 20
18a. Faringe sin espinas conspicuas en la porción distal. Cibario con los dientes posteriores en contacto entre sí en la mayor parte de su longitud, excepto en la punta (Fig. 119). . . . . . . . . . . . . . 19
19 (18a). Conductos espermatecales común e individuales con estrías, los individuales aproximadamente tan largos como el común (Fig. 120). Cibario con menos de 22 dientes posteriores, los anteriores en hilera compacta formando una carina irregular (Fig. 119). . . . . . . . . . . . . . . . . . . . . . . . . . . . . . . . . . . . . . . . . . . . . . . . . . . . . . . . . . . Micropygomyia (Coquillettimyia) chiapanensis
19a. Conductos espermatecales común y la mayor parte de los individuales lisos, estos últimos con estrías solo en la porción cercana a la espermateca, el conducto espermatecal común corto, tan largo como la espermateca (Fig. 122). Cibario con más de 23 dientes posteriores, los anteriores no discernibles (Fig. 121). . . . . . . . . . . . . . . . . . . . . . . . . . . . . Micropygomyia (Coquillettimyia) californica
20 (18). Cibario con 30 o más dientes posteriores (Fig. 123). . . . . . . . . . . . . . . . . . . . . . . . . . . . . . . . . . . . . . . . . . . . . . . . . . . . . . . . . . . . . . . . . . . . . . . . . . . . . . . . . . Micropygomyia (Micropygomyia) ctenidophora
20a. Cibario con 10 a 25 dientes posteriores (Figs. 125, 128). . . . . . . . . . . . . . . . . . . . . . . . . . . . . . . . . 21
21 (20a). Ala con la vena R1 terminando más o menos a nivel del origen de R2 (Fig. 126). Espermateca piriforme, con anillos y estrías en su unión con el conducto espermatecal individual; conducto espermatecal individual menor de 2.0 veces la longitud de la espermateca y área estriada combinadas. . . . . . . . . . . . . . . . . . . . . . . . . . . . . . . . . . . . . . . Micropygomyia (Micropygomyia) durani
21a. Ala con la vena R1 terminando más o menos a nivel de la mitad de la vena R2 (Fig. 130). Espermateca piriforme, con anillos y estrías en su unión con el conducto espermatecal individual; conducto espermatecal individual mayor de 2.0 veces la longitud de la espermateca y área estriada combinadas (Fig. 131). . . . . . . . . . . . . . . . . . . Micropygomyia (Micropygomyia) cayennensis . . 22
22 (21a). Cibario con el diente posterior medio más corto que la mitad de la anchura interna del cibario; dientes anteriores pequeños (Fig. 127) . . . . . . . . . . . . . . . . . . . . . . . . . . . . . . . . . . . . . . . . . . . . . . . . . . . . . . . . . . . . . . . . . . . . . . . . . . . . . . . . . . Micropygomyia (Micropygomyia) cayennensis cayennensis
22a. Cibario con el diente posterior medio tanto o más largo que la mitad de la anchura interna del cibario; dientes anteriores grandes, los de la parte media prominentes (Fig. 128). . . . . . . . . . . . . . . . . . . . . . . . . . . . . . . . . . . . . . . . . . . . . . . . . . . . Micropygomyia (Micropygomyia) cayennensis maciasi
23 (17a). Cibario con 4 dientes posteriores, los centrales más separados entre sí que con respecto a los laterales (Fig. 132). Faringe con espículas en la porción posterior (Fig. 133). Espermateca con forma de salchicha, sin estrías ni anillos. Conducto espermatecal común 0.75 y conducto espermatecal individual casi 2.0 veces la longitud de la espermateca (Fig. 134). . . . . . . . . . . . . . . . . . . . . . . . . . . . . . . . . . . . . . . . . . . . . . . . . . . . . . . . . . . . . . . . . . . . . . . Micropygomyia (Sauromyia) trinidadensis
23a. Cibario con 4 o más dientes posteriores pero los centrales nunca más separados entre sí que con respecto a los laterales (como en la Fig. 138). Faringe variable. Espermateca globular (Fig. 141) o piriforme, con estrías o anillos (Fig. 139), pero si es lisa con forma globular con diámetro similar o menor al conducto espermatecal común (Fig. 141). Conductos espermatecales común e individuales con dimensiones diferentes. . . . . . . . . . . . . . . . . . . . . . . . . . . . . . . . . . . . . . . . . . . . . . . . . . 24
24 (23a). Cibario con 4 dientes posteriores grandes (Fig. 138) y en ocasiones otros dientes accesorios pequeños entre ellos (Fig. 135), adicionalmente puede existir un diente triangular único con posición proximal con respecto a la hilera principal. Espermateca casi siempre pequeña y lisa, globular o con forma de dona, más angosta que el diámetro del conducto espermatecal común (Fig. 136). . . . . . . . . . . . . . . . . . . . . . . . . . . . . . . . . . . . . . . . . . . . . . . . . . . . . . . . . . . . . . . . . . . . . . . . . . . . . . 25
24a. Cibario solamente con 4 dientes posteriores (como en la Fig. 152). Espermateca globular estriada o piriforme anillada. . . . . . . . . . . . . . . . . . . . . . . . . . . . . . . . . . . . . . . . . . . . . . . . . . . . . . . . . . . . . 30
25 (24). Cibario con 4 dientes posteriores grandes y algunos accesorios pequeños entre el diente medio y y los que están a su lado (Fig. 135). Ascoides alcanzando el margen distal del artejo correspondiente. Espermateca más angosta que la anchura del tallo de la furca genital (Fig. 136). . . . . . . . . . . . . . . . . . . . . . . . . . . . . . . . . . . . . . . . . . . . . . . . . . . . Micropygomyia (Coquillettimyia) vexator
25a. Cibario con solo 4 dientes posteriores además del diente único fuera de línea en la parte media (en caso de que esté presente) (Fig. 138). Ascoides cortos o largos. Espermateca tanto o más ancha que el diámetro del tallo de la furca genital. . . . . . . . . . . . . . . . . . . . . . . . . . . . . . . . . . . . . . . . . . . . . . . 26
26 (25a). Espermateca con la porción distal globular más larga que ancha y algunos anillos proximales que se convierten en estrías en su unión con el conducto espermatecal individual (Fig. 139). Flagelómero 2 con los ascoides apenas sobrepasando su parte media (Fig. 137). . . . . . . . . . . . . . . . . . . . . . . . . . . . . . . . . . . . . . . . . . . . . . . . . . . . . . . . . . . . . . . Micropygomyia (Coquillettimyia) stewarti
26a. Espermateca tan ancha o más ancha que su propia longitud (Fig. 141) y cuando mucho con estría delgadas en su unión con el conducto espermatecal individual (Fig. 144). Flagelómero 2 con los ascoides con longitud variable. . . . . . . . . . . . . . . . . . . . . . . . . . . . . . . . . . . . . . . . . . . . . . . . . . . . . . . . 27
27 (26a). Conductos espermatecales individuales más largos que 5.0 veces la longitud del tallo de la furca genital (Figs. 144, 147, 150). . . . . . . . . . . . . . . . . . . . . . . . . . . . . . . . . . . . . . . . . . . . . . . . . . . . . . 28
27a. Conductos espermatecales individuales cortos, no más largos que 4.0 veces la longitud del tallo de la furca genital. Flagelómero 2 con los ascoides largos alcanzando el margen del artejo. . . . . . . . . . . . . . . . . . . . . . . . . . . . . . . . . . . . . . . . . . . . . . . . . . . Micropygomyia (Coquillettimyia) vindicator
28 (27). Conductos espermatecales individuales gruesos en su parte media, tanto o más que la anchura de la espermateca (Fig. 144). Flagelómero 2 con los ascoides cortos, sin alcanzar el margen del artejo (Fig. 142). Cibario como en la Fig. 143. . . . . Micropygomyia (Coquillettimyia) oppidana
28a. Conductos espermatecales individuales angostos en toda su longitud, su anchura no mayor que la espermateca (como en las Figs. 147, 150). . . . . . . . . . . . . . . . . . . . . . . . . . . . . . . . . . . . . . . . . . . . 29
29 (28a). Espermateca más ancha que su propia longitud (Fig. 147). Flagelómero 2 con los ascoides largos, rebasando el margen del artejo (Fig. 145). Cibario como en la Fig. 146. . . . . . . . . . . . . . . . . . . . . . . . . . . . . . . . . . . . . . . . . . . . . . . . . . . . . . . . . . . . . . . . . . . . . . Micropygomyia (Coquillettimyia) apache
29a. Espermateca esférica o ligeramente más larga que su propia anchura (Fig. 150). Flagelómero 2 con los ascoides cortos, apenas alcanzando el margen del artejo (Fig. 148). Cibario como en la Fig. 149. . . . . . . . . . . . . . . . . . . . . . . . . . . . . . . . . . . . . . . . . . . Micropygomyia (Coquillettimyia) nahua
30 (24a). Espermateca y extremo del conducto espermatecal individual estriados, con la base de la espermateca ancha y adelgazada de la parte media hacia el ápice (Fig. 153). Cibario con 4 dientes posteriores y una hilera de aproximadamente 8 dientes anteriores y pocos dientes laterales en grupo compacto (Fig. 152). Flagelómero 2 como en la Fig. 151. . Pintomyia (Pifanomyia) ovallesi
30a. Espermateca diferente, sin el adelgazamiento a partir de la mitad hacia el ápice. Cibario variable. . . . . . . . . . . . . . . . . . . . . . . . . . . . . . . . . . . . . . . . . . . . . . . . . . . . . . . . . . . . . . . . . . . . . . . . . . . . . . . 31
31 (30a). Espermateca ovalada, estriada principalmente en su mitad apical; conducto espermatecal común casi tan ancho como la espermateca y no más largo que 2.0 veces su propia anchura, los conductos espermatecales individuales aproximadamente tan largos como la espermateca (como en la Fig. 155). Cibario con los dientes anteriores en 1+1 grupos diagonales (como en la Fig. 154). . . . . . . . . . . . . . . . . . . . . . . . . . . . . . . . . . . . . . . . . . . . . . . . . . . . . . . . . . . . Dampfomyia (Coromyia) beltrani Dampfomyia (Coromyia) disneyi Dampfomyia (Coromyia) steatopyga
31a. Espermateca piriforme anillada (Fig. 158) o globular estriada (Fig. 160); conductos espermatecales con dimensiones diferentes. Cibario con los dientes en otra disposición. . . . . . . . 32
32 (31a). Espermateca globular estriada con apículo 2.0 veces más largo que su anchura; conductos espermatecales individuales aproximadamente 2.0 veces más largos que el conducto espermatecal común (Fig. 158). Cibario con 4 dientes posteriores dispuestos a manera de diadema, 1+1 grupos evidentes de dientes laterales y una hilera transversal de pocos dientes anteriores de los cuales los centrales son más grandes (Fig. 156). Cerco con el ápice angosto, a manera de dedo (Fig. 157). . . . . . . . . . . . . . . . . . . . . . . . . . . . . . . . . . . . . . . . . . . . . . . . . . . . . . . . . . . . . . . . . . . . Trichopygomyia triramula
32a. Espermateca piriforme, pudiendo ser completamente estriada o con la porción apical globular diferenciada de los anillos basales que son mucho más angostos; conductos espermatecales con tamaño diferente (Figs. 160, 162). Cibario variable. Cerco normal, con ápice triangular. . . . . . . . . . 33
33 (32a). Espermateca piriforme estriada, con capítelo a manera de placa verrugosa; conductos espermatecales individuales estriados, tan largos como 2.5-3.0 veces la longitud del conducto espermatecal común (Fig. 160). Cibario como en la Fig. 159). . . . . . Pintomyia (Pifanomyia) evansi
33a. Espermateca piriforme con la porción apical globular diferenciada de los anillos basales que son mucho más angostos y con capítelo clavado (como en la Fig. 162); conductos espermatecales con proporciones diferentes. . . . . . . . . . . . . . . . . . . . . . . . . . . . . . . . . . . . . . . . . . . . . . . . . . . . . . . . . . . . . 34
34 (33a). Conducto espermatecal común mayor de 3.0 veces la longitud de la espermateca; conducto espermatecal individual tan largo como la espermateca (Fig. 162). Cibario como en la Fig. 161. . . . . . . . . . . . . . . . . . . . . . . . . . . . . . . . . . . . . . . . . . . . . . . . . . . . . . . Pintomyia (Pifanomyia) serrana
34a. Conducto espermatecal común menor que 2.0 veces la longitud de la espermateca (como en las Figs. 164, 166). . . . . . . . . . . . . . . . . . . . . . . . . . . . . . . . . . . . . . . . . . . . . . . . . . . . . . . . . . . . . . . . . . . . . . . 35
35 (34a). Espermateca muy larga, con los anillos basales anchos, de tal forma que el conducto espermatecal individual mide alrededor de 1.5 veces su longitud (Fig. 164). Cibario como en la Fig. 163. . . . . . . . . . . . . . . . . . . . . . . . . . . . . . . . . . . . . . . . . . . . . . . . . Lutzomyia (Helcocyrtomyia) hartmanni
35a. Espermateca corta, con los anillos basales angostos, de tal forma que el conducto espermatecal individual es tan largo como 4.0 veces o más la longitud de la espermateca (como en las Figs. 166, 168). Cibario variable. . . . . . . . . . . . . . . . . . . . . . . . . . . . . . . . . . . . . . . . . . . . . . . . . . . . . . . . 36
36 (35a). Tórax con la pleura clara en su totalidad, sin escleritos más oscuros contrastantes. Conductos espermatecales individuales tan delgados como 0.2 el diámetro de la espermateca (Fig. 166). Cibario como en la Fig. 165) . . . . . . . . . . . . . . . . . . . . . . . . . . Lutzomyia (Tricholateralis) gomezi
36a. Tórax con al menos el paraterguito oscuro (como en las figuras 42, 44). Conductos espermatecales tan anchos o más anchos que 0.3 el diámetro de la espermateca (como en las Figs. 168, 170). . . . . . . . . . . . . . . . . . . . . . . . . . . . . . . . . . . . . . . . . . . . . . . . . . . . . . . . . . . . . . . . . . . . . . . . . . . . . . 37
37 (36a). Escudo, pronoto y paraterguito oscuros, la porción restante de la pleura clara (como en la Fig. 42). Cibario como en la Fig. 167. Espermatecas y conductos como en la Fig. 168. . . . . . . . . . . . . . . . . . . . . . . . . . . . . . . . . . . . . . . . . . . . . . . . . . . . . . . . . . . . . . . . . . . . Lutzomyia (Tricholateralis) cruciata
37a. Escudo, pronoto, paraterguito y anepisternón oscuros, contrastando con las porciones restantes de la pleura que son claras. Espermateca y conductos como en la Fig. 170. Cibario como en la Fig. 169. . . . . . . . . . . . . . . . . . . . . . . . . . . . . . . . . . . . . . . . . . . Lutzomyia (Tricholateralis) diabolica
38 (11a). Flagelómeros con los ascoides presentando un espolón basal corto (como en las Figs. 173, 175). . . . . . . . . . . . . . . . . . . . . . . . . . . . . . . . . . . . . . . . . . . . . . . . . . . . . . . . . . . . . . . . . . . . . . . . . . . . . . 39
38a. Flagelómeros con los ascoides presentando una rama proximal larga (como en la Fig. 184). . . . . . . . . . . . . . . . . . . . . . . . . . . . . . . . . . . . . . . . . . . . . . . . . . . . . . . . . . . . . . . . . . . . . . . . . . . . . . . . . . . . . . . . . . 42
39 (38). Cibario con cuatro dientes posteriores y 12 dientes anteriores en disposición irregular y 1+1 grupos compactos de dientes laterales (Fig. 171). Conductos espermatecales estriados, el conducto común tan largo como la espermateca, los individuales tan largos como 2.0 veces el conducto común y la combinación de los conductos espermatecales común e individual tan largos como el tallo de la furca; espermateca estriada con constricción media y más ancha en su mitad distal, con un capítelo tan largo como ancho que presenta una proyección digital adicional (Fig. 172). . . . . . . . . . . . . . . . . . . . . . . . . . . . . . . . . . . . . . . . . . . . . . . . . . . Psathyromyia (Psathyromyia) maya
39a. Cibario con dientes dispuestos de manera diferente, longitud relativa de los conductos espermatecales y espermateca también diferentes. . . . . . . . . . . . . . . . . . . . . . . . . . . . . . . . . . . . . . . . 40
40 (39a). Espermateca cilíndrica y anillada, los anillos casi del mismo diámetro por lo que la unión con el conducto espermatecal es abrupta; conducto espermatecal común aproximadamente tan largo como la espermateca, los conductos espermatecales individuales tan largos como 6.0 veces la espermateca y muy delgados (Fig. 176). Cibario con alrededor de 10 dientes posteriores y una hilera de dientes anteriores pequeños (Fig. 174). . . . . . . . . . . Lutzomyia (Lutzomyia) longipalpis
40a. Espermateca esférica o en forma de pera con capítelo a manera de placa, sin anillos; conducto espermatecal común tan pequeño que no es discernible (Figs. 180, 183). Cibario con 12 ó más dientes posteriores y varias hileras de dientes anteriores (Figs. 178, 181). . . . . . . . . . . . . . . . . . . . . . 41
41 (40a). Espermateca esférica, sin cuello ancho diferenciado en la unión con el conducto espermatecal individual (Fig. 180). Ala con el ápice de la vena R1 antes de la mitad de la vena R2 (Fig. 179). Cibario con dientes anteriores en dos hileras, la superior con dientes mucho más grandes que los de la hilera inferior (Fig. 178). . . . . . . . . . . . . . . . . . . . . . Psathyromyia (Forattiniella) texana
41a. Espermateca piriforme, con el cuello ancho en su unión con el conducto espermatecal individual (Fig. 183). Ala con el ápice de la vena R1 más o menos a nivel de la mitad de la vena R2 (Fig. 182). Cibario con dientes anteriores en dos hileras irregulares, todos los dientes pequeños (Fig. 181). . . . . . . . . . . . . . . . . . . . . . . . . . . . . . . . . . . . . . . . . . . . . . . . . Psathyromyia (Forattiniella) carpenteri
42 (38a). Espermateca anillada (como en las Figs. 186, 188). . . . . . . . . . . . . . . . . . . . . . . . . . . . . . . . . . 43
42a. Espermateca lisa (como en las Figs. 190, 192). . . . . . . . . . . . . . . . . . . . . . . . . . . . . . . . . . . . . . . . . . 44
43 (42). Espermateca con alrededor de 10 anillos gruesos, anchos en la porción posterior y delgados en la anterior por lo que se observa más o menos imbricada; capítelo sobresaliente con forma de mazo grande; conducto espermatecal común tan largo como la espermateca y el conducto espermatecal individual 1.5 veces la longitud de la espermateca (Fig. 186). Cibario con dos hileras transversales de dientes anteriores finos (Fig. 185). . . . . . . . . . . . . . . . . . . . . . . . . . . . . . . . . . . . . . . . . . . . . . . . . . . . . . . . . . . . . . . . . . . . . . . . . . . . . . . . Psathyromyia (Xyphopsathyromyia) aclydifera
43a. Espermateca con más de 40 anillos delgados, cada uno asimétrico; capítelo corto y redondeado; conducto espermatecal común 1.25 veces y conducto espermatecal individual 0.75 veces la longitud de la espermateca (como en la Fig. 188). Cibario con los dientes posteriores largos y delgados, los anteriores formando varias hileras transversales (como en la Fig. 187). . . . . . . . . . . . . . . . . . . . . . . . . . . . . . . . . . . . . . . . . . . . . . . . . . . . . . . . . . . . . . . . . . Psathyromyia (Psathyromyia) cratifer Psathyromyia (Psathyromyia) undulata
44 (42a). Cibario con alrededor de 4 dientes posteriores (Fig. 189). Conducto espermatecal individual menor de 0.5 y conducto espermatecal común mayor de 2.0 la longitud de la espermateca (Fig. 190) . . . . . . . . . . . . . . . . . . . . . . . . . . . . . . . Psathyromyia (Psathyromyia) shannoni
44a. Cibario con alrededor de 10 dientes posteriores (Fig. 191). Conducto espermatecal individual mayor de 2.5 y conducto espermatecal común menor de 0.5 la longitud de la espermateca (Fig. 192) . . . . . . . . . . . . . . . . . . . . . . . . . . . . . . . . . . . . . . . . . . . . . . . Psathyromyia (Psathyromyia) dasymera










nueva página del texto (beta)



