Introducción
La vena de Galeno o vena cerebral mayor se encuentra en la línea media, pasa debajo del cuerpo calloso y forma el seno recto al unirse al seno sagital inferior.1
Las malformaciones de la vena de Galeno corresponden a fístulas arteriovenosas congénitas, que generalmente se asocian a insuficiencia cardiaca e hipertensión pulmonar en los recién nacidos (RN).2 A mediados del siglo XX, Jaeger y colaboradores describieron el primer caso de un “aneurisma de la vena de Galeno”.3 Mientras que en 1989, Charles Raybaud reconoció sus conexiones fistulosas con la vena prosencefálica mediana.4 Este tipo constituye 1% de las malformaciones vasculares intracraneales, pero en la edad pediátrica alcanza 30%.5 Hay pocos estudios epidemiológicos, pero Brevis y su equipo informaron una incidencia de uno por cada 58,100 partos.6
Berenstein y Lasjaunias las clasificaron en dos grupos: 1) malformación aneurismática de la vena de Galeno (MAVG) y 2) dilataciones aneurismáticas de la vena de Galeno (DAVG). Estas últimas se asocian con una malformación arteriovenosa intraparenquimatosa que confluye a una vena de Galeno. A su vez, por su arquitectura existen dos subtipos de MAVG: forma coroide o tipo I, y la mural o tipo II. La primera tiene un comportamiento clínico más grave, causada por una derivación arteriovenosa cerebral masiva que produce sobrecarga en las cavidades derechas del corazón, llevando a insuficiencia cardiaca.7 Con manejo médico y técnicas endovasculares la supervivencia de estos pacientes ha mejorado, pero debido a que producen hemorragia intracraneal, la mortalidad y secuelas son frecuentes.8,9
En este artículo presentamos el caso de un paciente RN con MAVG, quien desarrolló hemorragia cerebral y muerte.
Presentación del caso
RN masculino, primer producto de una madre de 19 años. A las 25 semanas de gestación (SDG), por ecografía gestacional, se identificó un hematoma supratentorial. Mientras que a las 33.6 SDG, por sospecha de holoprosencefalia se realizó una neurosonografía fetal, en la cual se encontró imagen anecoica en forma de reloj de arena, de dimensiones de 74 × 37 mm, vascularizada, sugestiva de malformación venosa tipo aneurisma de la vena de Galeno (Figura 1). A las 35 SDG por ecocardiografía se detectó cardiomegalia con sobrecarga de cavidades derechas.

Figura 1: Neurosonografía fetal, 34.6 semanas de edad gestacional. En línea media se aprecia imagen anecoica en forma de reloj de arena de 74 × 37 mm, que abarca desde la región subtalámica hasta la región infratentorial y hasta el occipital, con flujo venoso en su interior, sugestivo de malformación arteriovenosa, con sospecha de aneurisma de la vena de Galeno.
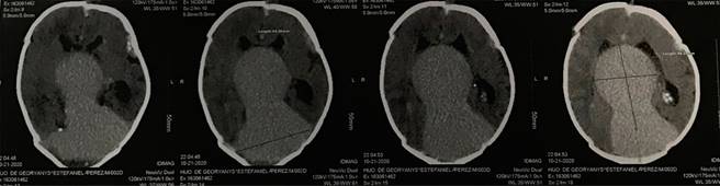
El paciente nació a las 37 SDG mediante cesárea electiva, con buena adaptación neonatal, así como peso y talla normales. Se decidió su trasladó a la Unidad de Cuidados Intensivos Neonatales (UCIN). En la exploración física se encontró macrocefalia, fontanela anterior amplia y normotensa, malformación vascular cutánea de la región frontal izquierda extendida a párpado superior ipsilateral, puente nasal amplio, ausencia de soplos cardiacos, acrocianosis, y con reflejos primarios presentes. Por ecocardiografía Doppler color se detectó hipertensión arterial pulmonar grave, confirmando la dilatación de cavidades derechas y disfunción diastólica del ventrículo derecho. La tomografía de cráneo simple evidenció la MAVG (Figura 2).

Figura 2: Tomografía simple de cráneo. En línea media se observa lesión voluminosa ovoide, con densidad superior al parénquima cerebral, que separa los ventrículos laterales y obstruye el tercer ventrículo. Mide 4.3 × 4.9 cm. Tiene apariencia vascular. Seno longitudinal superior y seno recto se observan dilatados. Imagen compatible con malformación aneurismática de vena de Galeno.
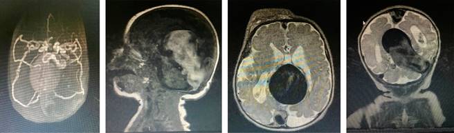
Al sexto día de vida se trasladó a sala general con oxígeno. Se decidió iniciar espironolactona. Al octavo día de vida, una angiorresonancia magnética cerebral confirmó el hallazgo tomográfico, con una clasificación de Yasargil tipo II (Figura 3). Fue valorado por neurocirugía pediátrica, planteando manejo endovascular de manera programada, por lo que se egresó a su domicilio.

Figura 3: Angiorresonancia cerebral simple. Se observa dilatación del seno longitudinal superior y gran dilatación de la vena de Galeno. Existen pequeñas fístulas con ramas perforantes talámicas izquierdas y derechas. Hay efecto de masa sobre el parénquima cerebral y dilatación secundaria del sistema ventricular supratentorial. Imágenes compatibles con malformación de la vena de Galeno, Yasargil tipo II.
A los dos meses fue llevado al hospital por intolerancia a la vía oral. Se solicitó tomografía cerebral, documentando hemorragia intraventricular. Se detectó anemia grave e ingresa a Unidad Cuidados Intensivos (UCI). Se realizó nueva angiorresonancia cerebral, evidenciando aneurisma gigante de la vena de Galeno, hidrocefalia obstructiva y trombosis del seno longitudinal superior. Quince días después se realizó panangiografía cerebral con embolización de fístula de la vena de Galeno, sin complicaciones. Por la hidrocefalia, se llevó a cabo derivación ventrículo-peritoneal. Se egresó al estar estable.
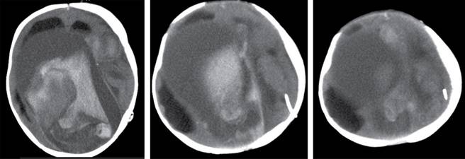
Cinco meses después de internamiento anterior, el paciente es llevado al servicio de Urgencias con signos de hipertensión endocraneana, por lo cual se ingresó a la UCI. En imagen de tomografía cerebral se identificó hemorragia intracraneana masiva (Figura 4), lamentablemente el paciente se deterioró progresivamente llegando a muerte cerebral y fallecer.
Discusión
La MAVG es una anomalía rara del sistema vascular cerebral que se desarrolla durante la gestación. Su fisiopatología no está del todo clara; sin embargo, se ha postulado que se origina entre la segunda y undécima semana de gestación, a partir de la persistencia de una conexión anormal entre los vasos coroideos primitivos y la parte proximal la vena mediana de Markowski, en el prosencefálico. Cuando no hay involución de esta conexión se favorece el desarrollo de otros vasos derivativos arteriovenosos anormales, y a la deformación de la vena de Galeno.10
Entre los subtipos de MAVG, el coroideo es la forma más grave dada su asociación con insuficiencia cardiaca, macrocefalia y dilatación de las venas orbitarias.11
Las manifestaciones clínicas se derivan del efecto de “masa” del aneurisma (compresión), como un fenómeno de robo o hipoperfusión vascular cerebral que puede causar hidrocefalia.12 Los RN suelen presentar infartos cerebrales y leucomalacia, además de hidrocefalia.10
Para el diagnóstico de las MAVG se requieren estudios de imagen, con las cuales se puede detectar la malformación desde la vida intrauterina o en las primeras horas de vida. Las imágenes por tomografía y resonancia magnética craneal permiten demostrar la malformación arteriovenosa, pero la angiografía cerebral o la angiorresonancia son los estudios ideales para disponer de la anatomía precisa de la malformación y de los vasos que alimentan la fístula; esta información es importante para planear el tratamiento.
El tratamiento de elección es la embolización endovascular, realizada idealmente después de los cinco meses de edad (como en nuestro paciente). La principal complicación de este tratamiento es la hemorragia cerebral. Es importante considerar que el manejo de estos pacientes incluye la estabilización cardiovascular, para mejorar el gasto cardiaco sistémico no cerebral.12
La mortalidad en pacientes con MAVG, en ausencia de un manejo quirúrgico, es casi del 100%.13,14 Si bien, las técnicas endovasculares actuales, junto con el soporte neurocardiorrespiratorio de los cuidados intensivos han logrado incrementar la supervivencia, los casos de inicio neonatal aún se consideran de mal pronóstico.14,15










nueva página del texto (beta)



